目 錄
1 概述
2 儀器的主要技術性能
3 儀器結構
4 儀器的使用
5 注意事項
6 電導電極的清洗與貯存
7 附錄
8 儀器的成套性
9 用戶訂貨須知
1 概 述
DDS-307型電導率儀(以下簡稱儀器)是實驗室測量水溶液電導率必備的儀器,儀器采用全新設計的外形、大屏幕LCD段碼式液晶,顯示清晰、美觀。該儀器廣泛地應用于石油化工、生物醫藥、污水處理、環境監測、礦山冶煉等行業及大專院校和科研單位。若配用適當常數的電導電極,可用于測量電子半導體、核能工業和電廠純水或超純水的電導率。
儀器的主要特點如下:
◆ 儀器采用大屏幕LCD段碼式液晶;
◆ 可同時顯示電導率/溫度值,顯示清晰;
◆ 具有電導電極常數補償功能;
◆ 具有溶液的手動溫度補償功能;
2 儀器的主要技術性能
儀器級別: 1.0級
1.測量范圍:0.00μS/cm~100.0mS/cm;
2.電子單元基本誤差:±1.0%(FS);
3.儀器的基本誤差:電導率:±1.5%(FS) ;
4.外形尺寸 1×b×h, mm:290×210×95
5.重 量:1.5kg
6.儀器正常工作條件:
a) 環境溫度:(0~40)℃;
b) 相對濕度:不大于85%;
c) 供電電源:AC(220±22)V;(50±l)Hz;
d) 除地球磁場外無外磁場干擾。
3 儀器結構
儀器外型結構
l ─ 機箱
2 ─ 鍵盤
3 ─ 顯示屏
4 ─ 多功能電極架
5 ─ 電極
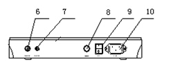
儀器后面板
6 ─ 測量電極插座
7 ─ 接地插座
8 ─保險絲
9 ─電源開關
10 ─ 電源插座
儀器鍵盤說明
a)“測量”鍵,在設置“溫度”、“電極常數”、“常數調節”時,按此鍵退出功能模塊,返回測量狀態。
b)“電極常數”鍵,此鍵為電極常數選擇鍵,按此鍵上部“△”為調節電極常數上升;按此鍵下部“▽”為調節電極常數下降;電極常數的數值選擇為0.01、0.1、1、10。
c)“常數調節”鍵,此鍵為常數調節選擇鍵,按此鍵上部“△”為常數調節數值上升;按此鍵下部“▽”常數調節數值下降。
d)“溫度”鍵,此鍵為溫度選擇鍵,按此鍵上部“△”為調節溫度數值上升;按此鍵下部“▽”為調節溫度數值下降。
e)“確認”鍵,此鍵為確認鍵,按此鍵為確認上一步操作。
儀器附件
11 ─ DJS-1C電導電極
4 儀器的使用
4.1 開機前的準備
a) 將多功能電極架(4)插入多功能電極架插座中,并擰好。
b) 將電導電極(11)安裝在電極架(4)上。
c) 用蒸餾水清洗電極。
4.2 儀器操作流程
連接電源線,打開儀器開關,儀器進入測量狀態,顯示如圖,儀器預熱30min后,可進行測量。

在測量狀態下,按“溫度”鍵設置當前的溫度值;按“電極常數”和“常數調節”鍵進行電極常數的設置,簡要的操作流程見下圖:
4.3 設置溫度
在測量狀態下,用溫度計測出被測溶液的溫度,按“溫度△”或“溫度▽”鍵,儀器顯示如圖:
按“溫度△”或“溫度▽”鍵調節顯示值,使溫度顯示為被測溶液的溫度,按“確認”鍵,即完成當前溫度的設置;按“測量”鍵放棄設置,返回測量狀態。
4.4 電極常數和常數數值的設置
儀器使用前必須進行電極常數的設置。目前電導電極的電極常數為0.01、0.1、1.0、10四種類型,每種類電極具體的電極常數值均粘貼在每支電導電極上,用戶根據電極上所標的電極常數值進行設置。
按“電極常數”鍵或“常數調節”鍵,儀器進入電極常數設置狀態,儀器顯示如圖:

4.4.1 電極常數為“1”的數值設置
按“電極常數▽”或“電極常數△”,電極常數的顯示在10、1、0.1、0.01之間轉換,如果電導電極標貼的電極常數為“1.010”,則選擇“1”并按“確認”鍵;再按“常數數值▽”或“常數數值△”,使常數數值顯示“1.010”,按“確認”鍵;此時完成電極常數及數值的設置(電極常數為上下二組數值的乘積)。儀器顯示如圖:
如用戶放棄設置,按“測量”鍵,返回測量狀態。
4.4.2 電極常數為“0.1”的數值設置
按“電極常數▽”或“電極常數△”,電極常數的顯示在10、1、0.1、0.01之間轉換,如果電導電極標貼的電極常數為“0.1010”,則選擇“0.1”并按“確認”鍵;再按“常數數值▽”或“常數數值△”,使常數數值顯示“1.010”,按“確認”鍵;此時完成電極常數及數值的設置(電極常數為上下二組數值的乘積)。儀器顯示如圖:
如用戶放棄設置,按“測量”鍵,返回測量狀態。
4.4.3 電極常數為“0.01”的數值設置
按“電極常數▽”或“電極常數△”,電極常數的顯示在10、1、0.1、0.01之間轉換,如果電導電極標貼的電極常數為“0.01010”,則選擇“0.01”并按“確認”鍵;再按“常數數值▽”或“常數數值△”,使常數數值顯示“1.010”,按“確認”鍵;此時完成電極常數及數值的設置(電極常數為上下二組數值的乘積)。儀器顯示如圖:

如用戶放棄設置,按“測量”鍵,返回測量狀態。
4.4.4 電極常數為“10”的數值設置
按“電極常數▽”或“電極常數△”,電極常數的顯示在10、1、0.1、0.01之間轉換,如果電導電極標貼的電極常數為“10.10”,則選擇“10”并按“確認”鍵;再按“常數數值▽”或“常數數值△”,使常數數值顯示“1.010”,按“確認”鍵;此時完成電極常數及數值的設置(電極常數為上下二組數值的乘積)。儀器顯示如圖:
如用戶放棄設置,按“測量”鍵,返回測量狀態。
4.5 測 量
經過上述4.3~4.4的設置,儀器可用來測量被測溶液,按“測量”鍵,使儀器進入電導率測量狀態。儀器顯示如圖:

用溫度計測出被測溶液的溫度,按“4.3 溫度設置”操作步驟進行溫度設置;然后,儀器接上電導電極,用蒸餾水清洗電極頭部,再用被測溶液清洗一次,將電導電極浸入被測溶液中,用玻璃棒攪拌溶液使溶液均勻,在顯示屏上讀取溶液的電導率值。如溶液溫度為25.5℃,電導率值為1.010mS/cm,則儀器顯示如圖:
5 注意事項
◆ 電極使用前必須放入在蒸餾水中浸泡數小時,經常使用的電極應放入(貯存)在蒸餾水中,。
◆ 為保證儀器的測量精度,必要時在儀器的使用前,用該儀器對電極常數進行重新標定。同時應定期進行電導電極常數標定。
◆ 在測量高純水時應避免污染,正確選擇電導電極的常數并最好采用密封、流動的測量方式。
◆ 本儀器的TDS按電導率1:2比例顯示測量結果。
◆ 為確保測量精度,電極使用前應用于小0.5μS/cm的去離子水(或蒸餾水)沖洗二次,然后用被測試樣沖洗后方可測量。
◆ 電極插頭座防止受潮,以免造成不必要的測量誤差。
6 電導電極的清洗與貯存
6.1 電導電極的貯存
電極(長期不使用)應貯存在干燥的地方。電極使用前必須放入(貯存)在蒸餾水中數小時,經常使用的電極可以放入(貯存)在蒸餾水中,。
6.1 電導電極的清洗
◆ 可以用含有洗滌劑的溫水清洗電極上有機成分玷污,也可以用酒精清洗。
◆ 鈣、鎂沉淀物最好用10%擰檬酸。
◆ 鍍鉑黑的電極,只能用化學方法清洗,用軟刷子機械清洗時會破壞鍍在電極表面的鍍層(鉑黑)。注意:某些化學方法清洗可能再生或損壞被輕度污染的鉑黑層。
◆ 光亮的鉑電極,可以用軟刷子機械清洗。但在電極表面不可以產生刻痕,絕對不可使用螺絲起子之類硬物清除電極表面,甚至在用軟刷子機械清洗時也需要特別注意。
7 附 錄
7.1電導常數標定
電導電極出廠時,每支電極都標有電極常數值。用戶若懷疑電極常數不正確,可以按照以下步驟重新標定。
7.1.1 標準溶液標定
根據電極常數選擇合適的標準溶液(見表1)、配制方法(見表2),標準溶液與電導率值關系表(見表3)。
a.將電導電極接入儀器,斷開溫度電極(儀器不接溫度傳感器),儀器則以手動溫度作為當前溫度值,設置手動溫度為25.0℃,此時儀器所顯示的電導率值是未經溫度補償的絕對電導率值;
b.用蒸餾水清洗電導電極;將電導電極浸入標準溶液中;
c.控制溶液溫度恒定為:(25.0±0.1)℃;
d.把電極浸入標準溶液中,讀取儀器電導率值K測。
e.按下式計算電極常數J:J=K/K測
式中:K為溶液標準電導率(查表3可得)
7.1.1 標準電極法標定
根據電極常數選擇合適的標準溶液(見表1)、配制方法(見表2),標準溶液與電導率值關系表(見表3)。
a.選擇一支已知常數的標準電極(設常數為J標);
b. 選擇合適的標準溶液(見表1)、配制方法(見表2),標準溶液與電導率值關系表(見表3);
c. 把未知常數的電極(設常數為J1)與標準電極以同樣的深度插入液體中(都應事先清洗);
d. 依次將電極接到電導率儀上,分別測出的電導率為K1 及K標;
e.按下式計算電極常數J1:J1 =J標×K標 / K1
式中:K1為未知常數的電極所測電導率值
K標為標準電極所測電導率值
表1 測定電極常數的KCL標準溶液
電極常數(l/cm) | 0.01 | 0.1 | 1 | 10 |
KCL溶液近似濃度(mol/L) | 0.001 | 0.01 | 0.01或0.1 | 0.1或1 |
表2 標準溶液的組成
近似濃度(mol/L) | 容量濃度KCL(g/L)溶液(20℃空氣中) |
1 | 74.2650 |
0.1 | 7.4365 |
0.01 | 0.7440 |
0.001 | 將100mL 0.01mol/L的溶液稀釋至1升 |
表3 KCL溶液近似濃度及其電導率值關系
溫度 ℃ | 近似濃度mol/L | |||
1 | 0.1 | 0.01 | 0.001 | |
電導率S/cm | ||||
15 18 20 25 35 | 0.09212 0.09780 0.10170 0.11131 0.13110 | 0.010455 0.011163 0.011644 0.012852 0.015351 | 0.0011414 0.0012200 0.0012737 0.0014083 0.0016876 | 0.0001185 0.0001267 0.0001322 0.0001465 0.0001765 |
8 儀器的成套性
1.DDS-307型電導率儀 1臺;
2. DJS-1C型鉑黑電極 1支;
3. 產品合格證 1份;
4. 附件一套,以隨機裝箱單為準。
9 用戶訂貨須知
1.儀器出廠時配套電極為DJS-1C型鉑黑電極(電極常數1.00)。
2.用戶根據電導率的測量范圍,在訂貨時參照本說明書4.5章節選購合適的電導電極。

