敬告用戶:
請在使用本儀器前,詳細閱讀本說明書。
儀器超過一年必須送計量部門或有資格的單位復檢,合格后方可使用。
玻璃電極的保質期為一年,出廠一年后,不管是否使用過,其性能都會受到影響,應及時更換。
第一次使用的pH電極或長期停用的pH電極,在使用前必須在3mol/L氯化鉀溶液中浸泡24小時。
目錄
一、概述
二、儀器主要技術性能
三、儀器結構
四、儀器使用
五、儀器的維護與維修
六、儀器的成套性
七、附錄
一、概述
PHSJ-4F型實驗室pH計是一臺智能型的實驗室常規分析測量器,它適用于醫藥、環保、高等院校和科研單位的化驗室測量水溶液中pH值,也可用于測量各種離子選擇電極的電極電位和溶液溫度。
1 儀器的主要特點
1.1 儀器采用單片機技術,并有斷電保護功能。中文菜單顯示,操作簡單明了。
1.2 儀器具有自動溫度補償、自動校準、自動計算電極的百分斜率等功能。儀器對測量結果可以貯存、刪除、查閱。儀器最多可貯存500套測量的實驗數據。
1.3 在(0.0~60.0)℃溫度范圍內,用戶可選擇五種pH緩沖溶液對儀器進行一點或二點標定。用戶通過調節等電位點,可以測量純水、超純水和鍋爐水的pH值。
1.4儀器帶有USB接口,與計算機通訊,計算機可下載儀器貯存的測量數據。
2 儀器的正常工作條件
2.1環境溫度:(5~35)℃;
2.2相對濕度:不大于75%;
2.3供電電源:直流通用電源(9V DC,800mA);
2.4周圍空氣中無腐蝕性的氣體存在;
2.5周圍無影響性能的振動存在;
2.6周圍除地磁場外無其它影響性能的電磁場干擾。
二、儀器主要技術性能
1 測量范圍
pH:(0.000~14.000) pH
顯示范圍(-2.000~20.000) pH
mV:(-1999.9~1999.9)mV
溫度:(-5.0~110.0)℃
2 分辨率
pH:0.001pH
mV:0.1mV
溫度:0.1℃
3 電子單元示值誤差
pH:0.002pH1個字
mV:0.03%FS
溫度:0.2℃
4 自動溫度補償范圍:(-5.0~110.0)℃
5 標定方式:一點或二點自動標定
6 用于校準儀器的五種標準緩沖溶液(25.0℃):
0.05mol/kg 四草酸氫鉀 1.680pH
0.05 mol/kg 磷苯二甲酸氫鉀 4.003pH
0.025 mol/kg 混合磷酸鹽 6.864pH
0.01 mol/kg 四硼砂鈉 9.182pH
25.0℃飽和氫氧化鈣 12.460pH
7 外形尺寸(mm):280×215×92(長×寬×高)
8 重量(kg):約1kg
三、儀器結構
1 儀器正面圖
(1)顯示屏 (2) 鍵盤 (3) 電極梗座
2 儀器后面板
(4)溫度傳感器插座 (5)接地接線柱 (6)pH電極插座
(7)參比電極接線柱 (8)USB接口 (9)電源插座
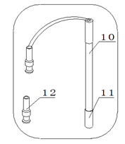
3 儀器配件

(10)E-201D-9型pH復合電極
(11)電極套
(12)Q9短路插頭

(13)T-818-B-6型溫度傳感器

(14)USB連接線
(15)DC9V穩壓電源(≥800mA,內正外負)

(16)REX-3型電極架
四、儀器使用
1 儀器安裝
a. 電極架(16)插入電極梗座(3)內。
b. pH復合電極(10)和溫度傳感器(13)安裝在電極架(16)上,拉下pH復合電極(10)前段的電極套(11)。
c. 在pH電極插座(6)處拔去Q9短路插頭(12)。然后,分別將pH復合電極(10)和溫度傳感器(13)插入pH電極插座(6)和溫度傳感器插座(4)內。
d. 用蒸餾水清洗復合電極,清洗后用濾紙吸干電極底部的水份。然后將復合電極和溫度傳感器浸入被測溶液中。
e. 通用電源器(15)輸出插頭插入儀器的電源插座(9)內。然后,接通通用電源器的電源,儀器可以進行正常操作。

2 鍵盤說明
儀器15個操作鍵,除“開/關”鍵外,其他鍵既有功能鍵又有數字鍵的作用,平時它們作為功能鍵,按這些鍵可以完成相應的功能;而第二功能即為數字鍵,當且僅當需要輸入數據時,這些鍵作為數字鍵。如“7/查閱”鍵,平時按此鍵,在儀器測量狀態下進入查閱儀器所貯存的測量數據功能;在輸入數字時,按此鍵,將輸入數字“7”。
●“(0~9)”、“-”和“•”鍵:用于數據輸入。
●“0/mV”鍵:用于儀器進入mV測量狀態。
●“1/ISO”鍵:用于設置等電位點。
●“8/”鍵和“2/”鍵:用于上下選擇或翻看選項。
●“3/貯存”鍵:用于貯存測量數據。
●“5/設置”鍵:用于設置各種參數。
●“7/查閱”鍵:用于查閱貯存的測量數據。
●“9/pH”鍵:用于儀器進入pH測量狀態。
●“•/標定”鍵:用于儀器進入標定狀態。
●“-/刪除”鍵:用于刪除貯存的全部測量數據或在查閱時刪除某一測量數據。
●“確認/輸入”鍵:用于確認當前的操作狀態和輸入數據。
● “取消/退出”鍵:用于取消當前的操作,返回上一級操作界面。
3 pH值測量
按下“開/關”鍵,如用戶不需對pH復合電極進行校準,儀器自動進入pH測量工作狀態。則儀器自動進入pH測量工作狀態,若需對pH電極進行標定或調節等電位點,則可按本節中“電極標定”和“等電位點”進行操作,然后再按“pH”鍵儀器進入pH測量狀態。當前儀器顯示如下:

當儀器顯示屏左上方顯示“重新標定!”,說明電極標定時間已超過了用戶設置的標定間隔時間,提醒用戶需對電極系統進行重新標定。
4 電極電位(mV)值測量
當儀器處于pH測量工作狀態,按“mV”鍵,儀器即進入mV測量工作狀態,此時儀器顯示如下:
5 溫度測量
當儀器處于pH或mV測量工作狀態時,儀器接入溫度傳感器時,儀器顯示為測得溶液的溫度值XX.X℃。儀器不接入溫度傳感器時,儀器顯示設置手動溫度值XX.X℃。
6 電極標定
6.1一點標定
一點標定含義是只采用一種pH標準緩沖溶液對電極系統進行定,用于自動校準儀器的定位值。儀器把pH復合電極的百分斜率作為100%,在測量精度要求不高的情況下,可采用此方法,簡化操作。操作步驟如下:
a. 將pH復合電極插入儀器的測量電極插座內,并將該電極用蒸餾水清洗干凈,放入pH標準緩沖溶液A中(規定的五種pH標準緩沖溶液中的任意一種)。
b. 在儀器處于pH或mV測量工作狀態下,按“標定”鍵,儀器即進入“標定1”工作狀態,(若誤按“標定”鍵,則按“取消”鍵返回即可)。此時,儀器顯示如下:
c. 當顯示屏上的pH值讀數趨于穩定后,按“確認”鍵,說明儀器已完成一點標定。儀器顯示如下:
此時,按“取消”鍵,則儀器返回相應的工作狀態。若按“標定”鍵,儀器即進入“標定2”工作狀態。若儀器顯示屏左上方顯示“E0或K值超差!”,說明電極有可能損壞,提醒用戶需更換電極。
6.2二點標定
二點標定是為了提高pH的測量精度。其含義是選用二種pH標準緩沖溶液對電極系統進行標定,測得pH復合電極的實際百分斜率和定位值。操作步驟如下:
a. 在完成一點標定后,將電極取出重新用蒸餾水清洗干凈,放入pH標準緩沖溶液B中。
b. 再按“標定”鍵,儀器即進入“標定2”工作狀態,(若誤按“標定”鍵,則按“取消”鍵返回即可)。此時,儀器顯示如下:
c. 當顯示屏上的pH值讀數趨于穩定后,按下“確認”鍵,說明儀器已完成二點標定。儀器顯示如下:
此時,按“取消”鍵,則儀器返回相應的工作狀態。若儀器顯示屏左上方顯示“E0或K值超差!”,說明電極有可能損壞,提醒用戶需更換電極。
注:儀器經過標定后得到的參數值關機后不會丟失。
7 等電位點設定
在儀器處于pH或mV測量工作狀態下,按下“ISO”鍵,儀器即進入“等電位點”選擇工作狀態(若誤按“ISO”鍵,則按“取消”鍵返回即可)。儀器設有3個等電位點,即等電位點7.000pH、12.000pH、17.000pH。用戶可通過“”或“”鍵選用所需的等電位點。再按“確認”鍵進行確認,確認完畢按“取消”鍵,則儀器進入相應的工作狀態。
一般水溶液的pH測量選用等電位點7.000pH。
純水和超純水溶液的pH測量選用等電位點12.000pH。
測量含有氨水溶液的pH值選用等電位點17.000pH。
8 其它功能操作(參數設置、貯存、查閱、刪除和通訊)
8.1參數設置
當儀器處于pH或mV測量狀態下,按下“設置”鍵,儀器即進入“設置參數”狀態,設置日期和時間、手動溫度、測量方式、操作者編號、標定間隔時間等參數。用戶通過“”或“”鍵移動光標“▶”指向所需設置的參數項,按“確定”鍵,則對選中的參數項進行設置。如按“取消”鍵,儀器返回相應的工作狀態。顯示界面如下:
8.1.1日期和時間設置
當光標“▶”指日期和時間設置參數項時,按“確定”鍵,儀器顯示界面如下:
用戶通過“”或“”鍵移動光標“▶” 選擇需所需要修改“年、月、日、時、分、秒”項,并按“確認”鍵,儀器顯示如下:
此時輸入正確的年份,再按“確認”鍵即完成年份的設置。若誤操作,則按“取消”鍵即可。
8.1.2手動溫度設置
當光標“▶”指手動溫度設置參數項時,按“確定”鍵,儀器顯示如上。通過“數字”鍵設置手動溫度值。然后,按“確定”鍵予以確認,設置完畢,按“取消”鍵退出手動溫度設置狀態,儀器進入設置參數狀態。手動溫度設置范圍(0.0~135.0)℃。
8.1.3測量方式設置
當光標“▶”指測量方式設置參數項時,按“確定”鍵,儀器顯示如下。用戶通過“”或“”鍵移動光標“▶”指向所需測量方式。

若設定連續測量方式,按“確定”鍵予以確認,確認完畢按“取消”鍵,儀器返回測量方式設置狀態。若設定定時測量方式,按“確定”鍵,儀器進入定時設置,通過“數字”鍵設置定時值,定時范圍(1~60)分鐘。再按“確定”鍵予以確認,確認完畢按“取消”鍵,儀器返回測量方式設置狀態。
若設定平衡測量方式,按“確定”鍵,儀器進入平衡設置,通過“數字”鍵設置平衡值,平衡范圍(0.1~9.9)mV。再按“確定”鍵予以確認,確認完畢按“取消”鍵,儀器返回測量方式設置狀態。
8.1.4操作者編號設置
當光標“▶”指操作者編號設置參數項時,按“確定”鍵,儀器顯示如下。用戶通過“數字”鍵設置操作者編號,編號范圍(0~99)。再按“確定”鍵予以確認,確認完畢按“取消”鍵,儀器返回操作者編號設置狀態。
8.1.5標定間隔時間設置
當光標“▶”指標定間隔時間設置參數項時,按“確定”鍵,儀器顯示如下。用戶通過“數字”鍵設置所需的標定間隔時間,標定間隔時間設置范圍(0~999)小時。再按“確定”鍵予以確認,確認完畢按“取消”鍵,儀器返回標定間隔時間設置狀態。
9 貯存
當儀器處于pH或mV測量工作狀態時,按“貯存”鍵,儀器顯示“貯存測量數據?”,按“確認”鍵,儀器顯示“正在貯存...”并將儀器在當前測量工作狀態下測得實驗數據貯存到存貯器內,貯存完畢,儀器自動返回當前測量工作狀態。若用戶貯存后,而實際又不需要貯存,可參閱本章節“11刪除” 進行刪除。
注:儀器貯存的順序號連接上一次貯存的序列號,最多可貯存測得的實驗數據500套。若存貯器已存滿了500套實驗數據,再貯存實驗數據,儀器則自動刪除該存貯器內的全部實驗數據,重新從“No.1”開始貯存實驗數據。
10 查閱
當儀器處于pH或mV測量工作狀態時,按“查閱”鍵,儀器即進入查閱功能,通過按“”或“”鍵,可查閱當前測量工作狀態下存貯器內的全部實驗據。若要退出查閱功能,按“取消”鍵,儀器自動返回當前測量工作狀態。
如果用戶發現存貯的某個實驗數據組確實無用,則按“刪除”鍵,儀器提示是否刪除,用戶按“確認”鍵,即可刪除此數據。但是,數據一旦被刪除就不能再恢復,望用戶切記。如用戶誤按“刪除”鍵,則按“取消”鍵,儀器自動返回查閱功能。
11 刪除
當儀器處于pH或mV測量工作狀態時,按“刪除”鍵,儀器顯示“測量數據全部刪除?”,再按“確認”鍵,儀器顯示“正在刪除...”,并將刪除儀器的存貯器內全部實驗數據。刪除完畢,儀器自動返回當前測量工作狀態。若誤按“刪除”鍵,則可按“取消”鍵,儀器也自動返回當前測量工作狀態。
若要刪除存貯器內某一組實驗數據,則參照本節中“查閱功能”進行操作。
12 通訊
通過USB連接線將儀器與計算機連接通訊。
五、儀器的維護與維修
1 維護
1.1 儀器的輸入端(測量電極插座)必須保持干燥清潔。儀器不用時,將Q9 短路插頭插入插座,防止灰塵及水汽浸入。在環境濕度較高的場所使用時,應把電極插頭用干凈紗布擦干。
1.2電極避免長期浸在蒸餾水,蛋白質溶液和酸性氟化物溶液中;避免與有機硅油接觸;電極經長期使用后, 如發現斜率略有降低,則可把電極下端浸泡在4%HF(氫氟酸)中3~5秒鐘, 用蒸餾水洗凈, 然后在0.1mol/L鹽酸溶液中浸泡, 使之復新。
2 維修
2.1開機前, 須檢查電源是否接妥, 應保證儀器良好接地。電極的連接須可靠,防止腐蝕性氣體侵襲。
2.2接通電源后, 若顯示屏不亮, 應檢查穩壓電源是否有電壓輸出。
2.3若儀器顯示的pH值不正常, 應檢查復合電極插口是否接觸良好,電極內溶液是否充滿,若仍不能正常工作, 則可更換電極。
2.4若上述各種情況排除后, 儀器仍不能正常工作, 則與我廠有關部門聯系。
六、儀器的成套性
1 PHSJ―4F型實驗室pH計電子單元 1臺
2 E―201―C―9型pH復合電極 1支
3 T―818―B―6型溫度傳感器 1支
4 直流通用電源(9V DC,800mA) 1臺
5 附件一套,以隨機裝箱單為準
七、附錄
附錄1 pH緩沖溶液的配制
1. 0.05mol/kg四草酸氫鉀溶液:稱取經(54±3)℃烘(4~5)h并在干燥器中冷卻后的四草酸氫鉀12.61g,用水溶解后轉入1000mL容量瓶中,在恒溫槽(25±0.2)℃下稀釋至刻度。
2. 0.05mol/kg 鄰苯二甲酸氫鉀溶液:稱取經(110~120)℃烘2h并在干燥器中冷卻后的鄰苯二甲酸氫鉀10.12g, 用水溶解后,轉入1000mL容量瓶中,在恒溫槽(25±0.2)℃下稀釋至刻度。
3. 0.025mol/kg 磷酸氫二鈉和0.025mol/kg磷酸二氫鉀混合溶液:分別稱取經(110~120)℃下烘(2~3)h并在干燥容器中冷卻后的磷酸氫二鈉3.533g、磷酸二氫鉀3.387g, 用水溶解后轉入1000mL容量瓶中,在恒溫槽(25±0.2)℃下稀釋至刻度。(如果用于0.02級以上的儀器,制備溶液所用的水, 應預先煮沸(15~30)min,以除去溶解的二氧化碳,在冷卻過程中亦應避免與空氣接觸,防止二氧化碳的污染。)
4. 0.01mol/kg 四硼酸鈉溶液:稱取3.80g四硼酸鈉(注意!不能烘),用水溶解后,轉入1000mL容量瓶中,在恒溫槽(25±0.2)℃下稀釋至刻度。(如果用于0.02級以上的儀器,制備溶液所用的水,應預先煮沸(15~30)min, 以除去溶解的二氧化碳,在冷卻過程中亦應避免與空氣接觸,防止二氧化碳的污染。)
5. 飽和(25℃)氫氧化鈣溶液:將過量的氫氧化鈣(大于2g/L)加入磨口玻璃瓶或聚乙烯瓶中,溫度控制在(25±3)℃,劇烈搖動(20~30)min,溶液澄清后,用傾瀉法取清液備用。
附錄2 緩沖溶液的pH值與溫度關系對照表
溫度 (℃) | 0.05mol/kg 四草酸氫鉀 | 0.05 mol/kg 鄰苯二鉀酸氫鉀 | 0.025 mol/kg 混合磷酸鹽 | 0.01mol/kg 四硼酸鈉 | 25℃飽和 氫氧化鈣 |
0 | 1.668 | 4.006 | 6.981 | 9.458 | 13.416 |
5 | 1.669 | 3.999 | 6.949 | 9.391 | 13.210 |
10 | 1.671 | 3.996 | 6.921 | 9.330 | 13.011 |
15 | 1.673 | 3.996 | 6.898 | 9.276 | 12.820 |
20 | 1.676 | 3.998 | 6.879 | 9.226 | 12.637 |
25 | 1.680 | 4.003 | 6.864 | 9.182 | 12.460 |
30 | 1.684 | 4.010 | 6.852 | 9.142 | 12.292 |
35 | 1.688 | 4.019 | 6.844 | 9.105 | 12.130 |
40 | 1.694 | 4.029 | 6.838 | 9.072 | 11.975 |
45 | 1.700 | 4.042 | 6.834 | 9.042 | 11.828 |
50 | 1.706 | 4.055 | 6.833 | 9.015 | 11.697 |
55 | 1.713 | 4.070 | 6.834 | 8.990 | 11.553 |
60 | 1.721 | 4.087 | 6.837 | 8.968 | 11.426 |


