敬告用戶:
請在使用本儀器前,詳細閱讀本說明書并妥善保存。
儀器超過一年必須送計量部門或有資格的單位復檢,合格后方可使用。
目錄
一、 概述
二、 儀器主要技術性能
三、 儀器結構
四、 儀器使用
五、 儀器的維護
六、 儀器的成套性
七、 附錄
一、概述
PXSJ-226型離子計(以下簡稱儀器)是一種用于測定溶液中離子濃度的實驗室電化學分析儀器, 是精密級的離子測量儀器,其測定方式類似于常見的pH計,即以各種離子選擇電極為指示電極,再輔以適當的參比電極一起插入待測溶液中構成供測定用的電化學系統。
本儀器具有以下特點:
a) 儀器可以測量溶液中各離子模式相應的電位、pX(或pH)值、濃度值以及溫度值;
b) 儀器采用新穎的觸摸式大屏幕液晶顯示屏(320*240點陣)作為顯示輸出,使儀器顯得大方、美觀;采用全中文操作界面,使用簡單、方便。
c) 儀器以單片微處理器為核心, 加上高精度A/D轉換芯片、配用精密級測量電極和溫度傳感器,可以有效保證儀器的測量精度;
d) 儀器可以選擇多種pH標準緩沖溶液標定電極(提供10種標準溶液),允許用戶建立自己的標液組;儀器具有一點標定、二點標定和多點標定(最多5點)功能。
e) 儀器隨機提供了多種常用的離子模式如:H+、Ag+、Na+、K+、NH4+、Cl-、F-、NO3-、BF4-、CN-、Cu2+、Pb2+、Ca2+等,方便用戶的使用。用戶配以相應的離子選擇電極和參比電極后即可直接測量相應離子的濃度,測量結束后可以方便的進行各種濃度單位的轉換。
f) 除了儀器提供的離子模式,如果用戶需要測量其他離子,只要用戶有相應的離子電極,儀器允許用戶自己建立自定義離子模式,同樣可以測量其他離子。
g) 儀器帶有RS-232接口(USB接口),可接TP-16型串行打印機打印測量結果或與計算機通訊。
h) 儀器具有多種濃度測量法,包括直讀濃度、已知添加、未知添加和GRAN法等;
i) 儀器具有斷電保護功能,在儀器使用完畢關機后或非正常斷電情況下,儀器內部貯存的測量數據、校準好的斜率值以及設置的參數不會丟失。
j) 儀器的測量結果可以貯存、刪除、查閱、打印或傳送到PC機。對H+儀器最多可貯存150套pH測量結果,而對于其他離子允許用戶存貯100套pX測量結果和100套濃度測量結果。
二、儀器主要技術性能
1 測量范圍
a) mV:(-1999.99~0)mV,(0~1999.99)mV;
b) pH/pX:(0.000~14.000)pH/pX;
c) 濃度: 與電位測量范圍和指示電極相應的各種濃度值。
d) 溫度:(-5.0~105.0)℃。
2 儀器級別:0.001級。
3 分辨率:
a) pH/pX: 0.01/0.001pH;
b) mV: 0.1/0.01mV;
c) 溫度:0.1℃。
4 電子單元基本誤差
a)pX
pXⅠ:±0.002pX±1個字;
pXⅡ:±0.005pX±1個字;
b) mV: ±0.03%FS±1個字;
c) 濃度: ±0.5%±1個字;
d) 溫度: ±0.2℃±1個字。
5 輸入阻抗: 大于3×1012Ω。
6 被測溶液溫度:(5~60)℃。
7 輸出方式: 觸摸式320×240點陣液晶顯示屏;具有RS232輸出接口。
8 儀器正常工作條件
a) 環境溫度: (5.0~35.0)℃;
b) 相對濕度: 不大于85%;
c) 供電電源:交流電壓(220±22)V;頻率(50±1)Hz;
d) 周圍無影響性能的振動存在;
e) 周圍空氣中無腐蝕性的氣體存在;
f) 周圍除地磁場外無其他影響性能的電磁場干擾。
9 外形尺寸,長×寬×高, mm:290×200×70。
10 重量, kg:約1。
三、儀器結構
1 儀器正面圖
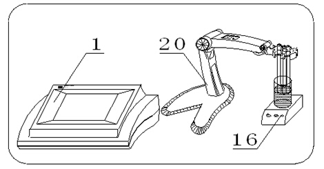
(1)主機; (2)觸摸顯示屏;
2 儀器后面板
(4)參比電極座; (5)接地座;
(6)測量電極座; (7)溫度電極座;
(8)USB插座; (9)RS-232插座;
(10)開關; (11)電源(連保險絲)插座;
3 儀器配件及附件
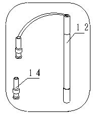
(12)PF-1型氟電極;
(14)Q9短路插頭;

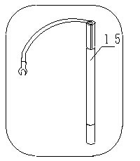
(15)232型參比電極;

(16)JB-1A型電磁攪拌器

(17)T-820D型溫度傳感器;

(18)打印機連線;

(19)國際通用電源線;

(20)REX-2多功能電極架。

四、儀器使用
4.1 儀器安裝
a.將主機(1)和REX-2多功能電極架(20)及JB-1A型電磁攪拌器(16)放在臺面上。
b. 分別將測量電極(PF-1氟電極(12))、參比電極(232參比電極(15))和溫度傳感器(17)安裝在REX-1多功能電極架(20)上,燒杯放在JB-1A型電磁攪拌器(16)上。將Q9短路插頭(14)拔下,將PF-1氟電極(12)插入測量電極座(6);將參比電極(232參比電極(15)接入參比電極座(4);將T-820D型溫度傳感器(17)插入溫度電極座(7);取下電源插座(11)上保險絲蓋,放入0.5A/220V保險絲,蓋好保險絲蓋(出廠前已放入保險絲);將國際通用電源線(19)插入電源插座(11);若用戶配置TP―16型打印機(打印機的安裝見該產品使用說明書),則將打印機連線(18)分別插入儀器的RS-232插座(9)和打印機插座內。
4.2 開/關機
儀器連接好電源后,打開電源開關,儀器即顯示“PXSJ-226型離子計”、“歡迎使用 雷磁產品”等字樣,稍等片刻,儀器自動進入起始狀態,用戶即可開始使用儀器。使用完畢以后,插上短路插頭,關閉電源開關,儀器關機。
儀器必須開機預熱0.5h后方可進行測量。為了保證儀器的高精度測量,建議用戶在開機預熱0.5h后進行零點電位校正。一般當用戶發現儀器連接短路插頭后,電位顯示值偏離零點電位(0.00mV)較大時需要校正零點電位,具體零點電位校正操作方法參見pH或pX測量模式中有關章節,一般為進入測量狀態后按“設置”鍵選擇“校正零點電位”項后按“確認”鍵即可。
注:如用戶在打開電源開關后,儀器無法自動進入起始狀態(顯示屏顯示不正常)是由人體靜電引起的故障,請操作人員關閉電源開關后,等待1~2分鐘,重新打開電源開關即可。
4.3 儀器的起始狀態
儀器的起始狀態,其中顯示屏左上方顯示有當前的系統時間;下方為當前選定的離子模式;右上方為“設置”按鍵,可以設置“系統時間”、“手動溫度”、“離子模式”以及“查閱存貯數據”等;右下方為“測量”按鍵,按此鍵即可開始測量。
4.4 設置功能
本設置功能可以設置當前的“系統時間”、“手動溫度”、“離子模式”以及“查閱存貯數據”等。在儀器的起始狀態下,按“設置”鍵,儀器顯示設置菜單
用戶可以直接按相應的菜單項,再按“確認”鍵選擇相應的功能模塊;按“取消”鍵或者按“×”(退出)鍵退出設置菜單。
4.4.1 設置系統時間
按“設置”鍵,再按“確認”鍵,儀器進入設置系統時間模塊,用戶可以設置當前的系統時間,窗口上方為當前的系統時間,下方為對應的時間按鍵,包括“年”、“月”、“日”、“時”、“分”、“秒”鍵
用戶按相應的時間鍵,即可設置對應項的時間值。例如用戶需要設置當前的月份,可按如下方法操作:按一下“月”鍵,儀器自動將當前月份加一,同時儀器會顯示另外二個按鍵,即“確認”鍵、“…”鍵
重復按“月”鍵至用戶需要的月份時,按“確認”鍵即可完成當前月份的設置。(或者采用輸入法操作:按“…”鍵,儀器會彈出一個輸入窗口供用戶直接輸入所需的月份值,用戶輸入完畢后,按“確認”鍵,退出輸入窗口,再按“確認”鍵,同樣可完成當前月份的設置)。
同理,可設置其他時間項。
設置完畢,按“×”(退出)鍵退出系統時間設置模塊,返回起始狀態。
4.4.2 設置手動溫度
溫度電極插口如果連接有溫度傳感器時,儀器自動采用溫度傳感器的溫度值,反之,儀器采用用戶設定的手動溫度值作為當前的溫度值。按“設置”鍵,選擇“手動溫度”項,按“確認”鍵,儀器即進入手動溫度設置模塊
在手動溫度值顯示區域按一下,儀器即彈出一個輸入窗口用戶可在輸入框中輸入相應的手動溫度值,輸入完畢,按“確認”鍵即完成設置;在輸入過程中一旦有錯,按“清除”鍵可以重新輸入;按“取消”鍵放棄輸入。設置完畢,儀器返回起始狀態。
注意:所有需要修改的參數一般都采用與此相同的方式來實現的。
后面所有關于設置手動溫度部分都按此操作。
4.4.3 離子模式
離子模式主要是為了方便用戶使用而設計的。儀器提供了常規的大約10多種離子模式對應不同的離子測量,允許用戶選用相應的離子模式進行濃度測量,在濃度測量結束后,用戶可以隨意的按照不同的離子濃度單位查看當前離子濃度值。
按“設置”鍵,選擇“離子模式”后,再按“確認”鍵即可進入“離子模式”功能模塊
分別將離子按離子階數分成一階離子、二階離子、三階離子和自定義離子等四部分,其中儀器提供了一些常規的離子模式,一階離子(包括一階陽離子、一階陰離子)共有10種,分別為:H+、Ag+、Na+、K+、NH4+、Cl-、F-、NO3-、BF4-、CN-等,二階離子為Cu2+、Pb2+、Ca2+等三種陽離子。顯示屏右面為四個方向鍵,按此四個鍵即可選中相應的離子(顯示高亮);中間顯示有當前選中離子的名稱以及分子量,按“確認”鍵,儀器將選擇此離子模式作為實際測量的離子模式;按“取消”鍵退出離子模式設置功能模塊,返回起始狀態。
本儀器允許用戶建立自己的離子模式,只要用戶有相應的離子選擇電極,用戶同樣可以按照常規的離子模式操作方法進行離子濃度的測量。
顯示屏下方的三個按鍵,即“新鍵”鍵、“修改”鍵、“刪除”鍵都是針對用戶自定義離子模式而設計的,按“新建”鍵,用戶可以自定義離子模式,儀器會要求用戶輸入離子的名稱以及相應的分子量大小,設置完畢儀器會自動在離子模式庫中增加此離子模式,下次用戶需要測量此離子時,選擇此離子模式即可測量。儀器也同樣允許用戶修改自定義的離子模式或者刪除自定義離子模式。
用戶必須選擇正確的離子模式后才能開始濃度測量,如果選用了不同的離子模式,那么將導致最后的結果的不正確。比如用戶需要測量鈉離子濃度,則 首先由“離子模式”功能模塊中選擇“Na+離子模式”,然后即可開始鈉離子的濃度測量,其他依此類推。
4.4.4 查閱存貯數據
濃度測量結束以后,用戶可以將結果存貯起來,方便以后的查看。除了氫離子以外,其他的所有離子都可以進行pX測量和濃度測量,因此存貯時也分別按照pX測量結果和濃度測量結果進行存貯,同時所有測量結果都按照當前的離子模式進行存貯的,比如:用戶選用鈉離子模式來測量鈉離子的濃度時,儀器會自動分配一塊存貯空間供用戶存貯測量結果,儀器允許用戶存貯100套pNa測量結果(即pX測量結果)和100套濃度測量結果;當用戶選用另一種離子模式測量其他離子濃度時,儀器同樣會分配相同的空間給這個離子模式存貯測量結果;對于氫離子,由于只有pH測量模式,因此儀器獨立分配給pH測量模式一塊存貯空間,允許存貯pH測量結果150套。
注意:由于系統存貯容量有限,儀器只允許用戶存貯16種離子模式的測量結果(包括pH測量結果)。
在儀器的起始狀態,按“設置”鍵,選擇“查閱存貯數據”后按“確認”鍵即可進入查閱存貯數據模塊,其中顯示屏上方顯示當前對應離子模式下的測量模式以及存貯數;每頁最多可顯示5個存貯數據,包括存貯時間、溫度值、斜率值、電位和pH值或者離子的濃度等;顯示屏右面為按鍵,包括“模式”、“打印”鍵、“刪除”鍵、“前頁”鍵、“后頁”鍵、“>”鍵等;顯示屏下方為所有存貯的離子模式數。
用戶直接按數據區域即可選擇相應的存貯數據,按“前頁”、“后頁”鍵可翻看其他頁的存貯數據。
按“模式”鍵即可查看當前離子模式下存貯的pX測量結果或者濃度測量結果。
此時,如果用戶需要打印、刪除存貯數據,按“打印”、“刪除”鍵即可。
按“>”鍵,可以選擇其他存貯的離子模式。
4.5 pH測量
這是最常用的離子測量模式,儀器為了方便用戶使用,特別將pH測量模式提取出來,增加了電極標定時pH標準緩沖溶液自動識別等功能。在儀器的起始狀態下按“測量”鍵,如果當前離子模式為H+,則儀器將直接進入pH測量狀態;如果為其他離子模式,則儀器會提示用戶選擇測量模式,按“確認”鍵同樣可以進入pH測量。
進入pH測量狀態,其中顯示屏上方顯示有當前的系統時間,pH測量結果以及對應的電位和當前溫度值;顯示屏右面為按鍵,分別為“存貯”鍵、“打印”鍵和“結束”鍵。
當測量結果穩定后,用戶可以按“存貯”鍵存貯當前的測量結果;按“打印”鍵打印測量結果;按“結束”鍵則結束測量,返回起始狀態。
按“設置”鍵可以設置手動溫度、查閱標定數據、電極標定、設置mV顯示分辨率、設置pH顯示分辨率以及校正電位零點。
可打印當前測量數據或將當前測量數據輸入PC機。
用戶若想打印當前測量結果,只需接上TP-16打印機,正確設置打印機,接通打印機電源,按“打印”鍵,儀器即打印當前測量數據。
若RS-232接口(USB接口)與PC機相連,儀器即將當前測量數據直接輸入PC機,由PC機接收(需有我公司配套開發的雷磁數據采集軟件支持)。
4.5.1 設置手動溫度
其功能和操作方法同起始狀態下設置手動溫度,請參見前章說明。
4.5.2 查閱標定數據
用戶可以查閱上次標定數據、標定時間、標定溫度和當前的斜率值;建立自己的標液組等。按“設置”鍵,選擇“查閱標定數據”后按“確認”鍵即可進入“查閱標定數據”模塊。
顯示屏上方為上次的標定數據,包括標定時間、標定點數以及對應每一點標準緩沖溶液的標定數據和當前的百分斜率值;下方為當前用戶使用的標液組情況;右面為“<=>”(移動)鍵、“標定”鍵、“設置”鍵。
當上次標定采用多點標定時,用戶可以按“<=>”(移動)鍵來回顯示每個標液點的具體數據。
在這里,按“標定”鍵,用戶可以直接標定電極斜率(具體標定步驟見標定部分)。
按“×”(退出)鍵退出查閱標定數據模塊。
按“設置”鍵,用戶可以建立新的標液組。
4.5.3 設置標液組
儀器具有自動識別功能,能夠識別10種標準緩沖溶液。本儀器允許用戶進行多點標定,但最多不能超過5個點。由于10種標準緩沖溶液之間的pH范圍相互有重疊,為了保證測量的精度,方便用戶使用,用戶需要建立相應的標液組。比如用戶將采用4.003pH、9.182pH標準緩沖溶液進行標定電極斜率,那么設置標液組為4.003pH和9.182pH標準緩沖溶液二種,在實際標定時,儀器會自動識別此二種標準緩沖溶液。
按“設置”鍵進入設置當前標液組模塊,其中設置標液組窗口有10個圖標對應10種標準緩沖溶液,此10種標準緩沖溶液分別為:1.679pH、3.557pH、3.776pH 4.003pH、6.864pH、7.000pH、7.413pH、9.182pH、10.012pH 和12.454pH。圖標下顯示標液的標稱pH值,比如顯示3.56的圖標就是對應3.557pH標液;打勾的圖標表示此標液已被選擇、沒有打勾的圖標表示未被選擇;反色顯示的圖標表示當前的標液是可操作的,此時再按一次反色顯示的圖標即可選擇或清除當前標液;窗口欄中顯示當前標液組中已選擇的標液數量。
比如用戶需要選擇3.557pH標液,則按一下對應3.557pH標液的圖標位置,使顯示3.55pH的圖標反色顯示,再按一下反色的圖標,顯示3.55pH的圖標立即打勾顯示,表示已被選擇。
為避免標液間pH值重疊而影響標定,用戶應選擇實際使用的對應標液,對于其他用戶不用的標液,應全部清除選擇。
選擇完畢,按“×”(退出)鍵退出設置標液組模塊,返回查閱標定數據模塊。
(儀器能識別的10種標準緩沖溶液見附錄)
4.5.4 電極標定
在每次測量以前,建議用戶對電極進行重新標定,一旦開始標定,前一次的標定數據將會被覆蓋。電極使用一段時間后,也應該重新標定。
在pH測量狀態,按“設置”鍵選擇電極標定后按“確認”鍵,或者在“查閱標定數據”模塊中,按“標定”同樣可以標定電極斜率。儀器提示“標定電極斜率嗎?”,按“確認”鍵,儀器即進入標定模塊其中屏幕上半區為當前的測量數據,儀器顯示當前的pH值(斜率設定為100.00%)、電位值和溫度值;屏幕中間為當前用戶設定的標液組;屏幕下面為當前的標定結果;右面為“確認”鍵、“結束”鍵、“自動識別”(或“手動識別”)鍵、“設置”鍵。自動識別(或手動識別)表示當前儀器的識別方式為自動識別或手動識別方式,按“自動識別”(或手動識別)鍵可在自動識別和手動識別方式間快速切換。按“設置”鍵可設置當前標液組;當電極放入標液顯示穩定后,按確認鍵即可標定當前標液;按“取消”鍵退出標定。
儀器具有自動識別標準緩沖溶液的功能,本儀器可以自動識別10種標準緩沖溶液。由于10種標準緩沖溶液之間的pH范圍相互有重疊,為了保證測量的精度,在開始標定前,用戶應檢查一下設置好的標液組。比如,如果用戶用4.003pH、9.182pH兩種標準緩沖溶液標定電極斜率,那么當前標液組中必須設置為4.003pH和9.182pH二種標準緩沖溶液,否則儀器不會自動識別此二種標準緩沖溶液,影響標定結果甚至出現標定錯誤信息。在標定狀態下,按當前標液組旁邊的“設置”鍵即可設置當前的標液組(具體設置參見4.5.3章節中設置標液組部分)。
開始標定前,用戶準備好1至5個標準緩沖溶液(可以是常規的標準緩沖溶液,也可以是用戶自己的標準緩沖溶液),將它們置于恒溫下放置一定時間,同時按照前面介紹的設置一下標液組,設置完畢即可進行電極標定。
將pH測量電極、參比電極、溫度傳感器等清洗干凈后一起放入待標定的標準緩沖溶液中,等顯示穩定后,按“確認”鍵,儀器顯示“存貯標定數據……”,稍后,儀器提示用戶“結束標定嗎?”,如果用戶有其他的標準緩沖溶液需要標定,則可選擇“繼續標定”鍵,然后重復前面的步驟標定其他標準溶液,直至標定結束!在標定過程中,用戶隨時可按“結束”結束標定。
注:當標定至第5個標液時,儀器也會自動結束標定。
對于pH范圍相互有重疊的標準緩沖溶液,比如6.864pH和7.000pH兩種標準緩沖溶液,建議采用如下方法標定:
第一種 當用戶標定6.864pH標準緩沖溶液時,將標液組設置為只有6.864pH,然后標定,等6.864pH標液標定完后,重新設置標液組,將標液組設置為只有7.000pH,然后標定即可。
第二種 采用手動識別方式標定,即每次標定標準緩沖溶液時,手動輸入當前標液對應當前溫度下的標稱pH值,也可完成標定,但是此方法比較煩瑣。
對常規的標準緩沖溶液,用戶可使用自動識別功能,配合前面設置的標液組,儀器將自動識別這些標準緩沖溶液,用戶不必改變識別方式即可標定(如果無法識別,儀器會提示用戶:標定錯誤,要求用戶或更換電極、或重新設置標液組、或將自動識別方式改為手動識別,用戶可按實際情況選擇操作。);當用戶使用自己的標準緩沖溶液(非常規標準緩沖溶液)來標定電極時,必須使用手動識別方式。
比如,用戶有一個標準緩沖溶液,已知25.0℃時的標稱pH值為2.704pH,25.1℃時的標稱pH值為2.710pH,25.2℃時的標稱pH值為2.720pH,則用戶應盡量將標定時的溫度恒定在25℃。開始標定后,首先將識別方式設置為“手動識別”,等顯示穩定后,按“確認”鍵,儀器要求用戶輸入當前溫度下的標稱pH值,如果當前溫度為25.2℃,則輸入2.720,輸入完畢按“確認”鍵,儀器存貯當前的標定數據。
如果用戶既有常規標準緩沖溶液,又有自己的標準緩沖溶液,則只需分別按自動識別方式和手動識別方式操作即可。
4.5.5 設置mV分辨率
本儀器允許用戶選擇mV的顯示分辨率,即0.1mV或者0.01mV。按“設置”鍵,選擇“mV分辨率”后按“確認”鍵,用戶即可設置mV的顯示分辨率。儀器顯示“系統設置分辨率……”字樣,設置完畢,儀器返回pH測量狀態。后面所有關于設置mV分辨率部分都按此操作。
4.5.6 設置pH分辨率
本儀器允許用戶選擇pH的顯示分辨率,即0.01pH或者0.001pH。按“設置”鍵,選擇“pX分辨率”后按“確認”鍵,用戶即可設置pH的顯示分辨率。儀器顯示“系統設置分辨率……”字樣,設置完畢,儀器返回pH測量狀態。后面所有關于設置pH分辨率部分都按此操作。
4.5.7 校正零點電位
為了保證儀器的高精度測量,用戶應在開機0.5h后進行電位零點校正。儀器連接短路插頭后,電位顯示值偏離零點電位(0.00mV)較大時需要校正零點電位。按“設置”鍵,選擇“校正零點電位”后,按“確認”鍵,儀器提示“校正當前零點電位嗎?”字樣,要求用戶確認。按“確認”鍵即可校正電位零點,反之按“取消”鍵將放棄操作,返回測量狀態。后面所有關于校正電位零點部分都按此操作。
4.6 pX測量
對應每一種離子模式,儀器允許進行pX測量。用戶選擇相應的離子模式后,即可開始pX測量。比如用戶需要測量氯離子Cl,則需要由“離子模式選擇模塊”中選擇當前離子模式為氯離子模式后,方可正常測量,具體操作參見“離子模式”章節。
在儀器的起始狀態下,按“測量”鍵,儀器提示測量“模式”選擇菜單,選擇“pX測量”后按“確認”鍵即可進行pX測量,
顯示界面同pH測量模式,其中顯示屏上方顯示有當前的系統時間,pX測量結果以及對應的電位和當前溫度值;顯示屏右面為按鍵,分別為“存貯”鍵、“打印”鍵和“結束”鍵。
當測量結果穩定后,用戶可以按“存貯”鍵存貯當前的測量結果;按“打印”鍵打印測量結果;按“結束”鍵則結束測量,返回起始狀態。
按“設置”鍵可以設置手動溫度、查閱標定數據、電極標定、設置mV顯示分辨率、設置pX顯示分辨率以及校正電位零點。
4.6.1 設置手動溫度
同pH測量模式時的設置手動溫度。
4.6.2 查閱標定數據
用戶可以查閱上次標定數據、標定時間、標定溫度和當前的斜率值;直接標定電極等。按“設置”鍵,選擇“查閱標定數據”后按“確認”鍵即可進入“查閱標定數據”模塊。
顯示屏上方為上次的標定數據,包括標定時間、標定點數以及對應每一點標準緩沖溶液的標定數據和當前的百分斜率值;右面為“<=>”(移動)鍵、“標定”鍵。
當上次標定采用多點標定時,用戶可以按“<=>”(移動)鍵來回顯示每個標液點的具體數據。
在這里,按“標定”鍵,用戶可以直接標定電極斜率(具體標定步驟見標定部分)。
按“×”(退出)鍵退出查閱標定數據模塊。
4.6.3 電極標定
在每次測量以前,建議用戶對電極進行重新標定,一旦開始標定,前一次的標定數據將會被覆蓋。電極使用一段時間后,也應該重新標定。
在pX測量狀態,按“設置”鍵選擇電極標定后按“確認”鍵,或者在“查閱標定數據”模塊中,按“標定”同樣可以標定電極斜率。儀器提示“標定電極斜率嗎?”,按“確認”鍵,儀器即進入標定模塊其中屏幕上半區為當前的測量數據,儀器顯示當前的pX值(斜率設定為100.00%)、電位值和溫度值,以及對應當前標液的標稱濃度值;屏幕下面為當前的標定結果;右面為“確認”鍵、“結束”鍵、“濃度”鍵。
開始標定前,用戶應準備好1至5個標準緩沖溶液(可以是常規的標準緩沖溶液,也可以是用戶自己的標準緩沖溶液),將它們置于恒溫下放置一定時間,即可開始電極標定。
將相應的離子選擇電極和參比電極、溫度傳感器等清洗干凈后一起放入待標定的標準緩沖溶液中,并按“濃度”鍵輸入當前標液相應的標稱濃度值,等顯示穩定后,按“確認”鍵,儀器顯示“存貯標定數據……”,稍后,儀器提示用戶“結束標定嗎?”,如果用戶有其他的標準緩沖溶液需要標定,則可選擇“繼續標定”鍵,然后重復前面的步驟標定其他標準溶液,直至標定結束!在標定過程中,用戶隨時可按“結束”鍵結束標定。
注意:在標定時,每次更換一種標液后,必須記得輸入當前標液相應的標稱濃度值。
當標定至第5個標液時,儀器也會自動結束標定。
4.6.4 設置mV顯示分辨率
同pH測量模式時的設置mV顯示分辨率。
4.6.5 設置pX顯示分辨率
同pH測量模式時的設置pH顯示分辨率。
4.6.6 校正電位零點
同pH測量模式時的校正電位零點部分。
4.7 直讀濃度測量
用于測量溶液的濃度值。本儀器共有四種濃度測量模式,包括直讀濃度、已知添加、試樣添加、GRAN法等。
本模式按照能斯特公式,
由此, 用戶只需經過相應的斜率校準, 得到斜率以及零電位值, 即可對待測試樣進行濃度測量。如果用戶需要測定空白標準液的濃度值(即空白濃度值), 那么用戶可選擇進行空白濃度值的測定。
用戶選擇好相應離子模式后,在儀器的起始狀態下,按“測量”鍵進入測量模式選擇模塊,選擇“直讀濃度”項后按“確認”鍵即可進行直讀濃度測量
其中顯示屏左上方為當前系統時間、當前的測量電位和溫度值以及相應的pX值,中部顯示為當前測量結果以及相應的空白濃度值;下方顯示上次標定數據;右面為按鍵,分別為“確認”鍵、“結束”鍵、“空白”鍵、“設置”鍵。
按“設置”鍵,可以設置手動溫度、查閱標定數據、電極標定、選擇濃度單位、設置mV分辨率、設置pX分辨率等。
用戶將相應離子選擇電極清洗干凈后放入被測溶液中,儀器顯示當前測量值,當讀數穩定后,按“確認”鍵,儀器即計算測量
此時,按“存貯”鍵可以將當前測量結果存貯起來,按“打印”鍵可以打印結果,按“繼續”鍵則繼續下一次的濃度測量,按“結束”鍵即退出直讀濃度測量,返回儀器起始狀態。按“設置”鍵,可以設置手動溫度、查閱標定數據、電極標定、選擇濃度單位、設置mV分辨率、設置pX分辨率等。
此時,如果用戶需要選擇樣品濃度的濃度單位,也可按以下方法操作:在樣品濃度結果顯示區域上按一下,則樣品濃度單位會自動切換一次。
4.7.1 直讀濃度測量時空白濃度校正
如果用戶需要進行空白濃度校正,則可按“空白”鍵,儀器提示如下:
用戶按“確認”鍵,儀器提示“校正空白濃度嗎?”字樣后按“確認”鍵即可開始空白濃度校正。選擇“空白濃度清零”則可將當前空白濃度清零。
進入空白濃度校正后,顯示同直讀濃度測量模式
用戶準備好空白標準溶液后,將相應的離子選擇電極和溫度電極一起放入溶液中,等顯示穩定后,按“確認”鍵,儀器即計算出空白濃度值,并自動存貯。按“確認”鍵,儀器返回直讀濃度測量狀態。
在校正過程中,用戶隨時可以按“結束”鍵退出校正,返回直讀濃度測量狀態。同樣此時可以設置mV分辨率等。
4.7.2 空白濃度清零
如果用戶希望清除上次的空白濃度值,則可在直讀濃度測量狀態下按“空白”鍵,選擇“空白濃度清零”項后按“確認”鍵,即可將空白濃度值清零。
4.8 已知添加測量
已知添加又稱標準添加。首先, 測定體系的平衡電位值,然后在待測體系中加入已知濃度的標準溶液, 再次測定體系的平衡電位值, 由添加前后的電極電位的變化值, 從而計算出待測試樣的濃度值。
測量前, 先輸入標準液的濃度值及添加體積, 再輸入試樣的體積, 然后測得添加前的電極電位值E1和添加后的電極電位值E2, 儀器即可按上述公式計算出試樣的濃度值Cx。如果用戶需要進行空白校準, 則按照類似方法,分別測量空白標準液添加標準液前后的電極電位變化值,即測定Eb1、Eb2, 然后可計算出空白標準液的空白濃度值。
在儀器的起始狀態,選擇好相應離子模式后,按“測量”鍵選擇“已知添加”項再按“確認”鍵即可進入已知添加測量模式
其中顯示屏上方為添加體積,指即將添加的標準液體積量;添加前體積即為試樣的體積量;標液濃度指添加的標準液濃度值,相應濃度單位列于右面。
用戶分別按照實際情況,設置當前已知添加測量模式的參數,如下次添加體積為1.5mL,則可以按以下操作方式進行:在顯示屏上“添加體積”顯示區域按一下,則儀器自動打開按鍵輸入窗口
用戶按照上述方法可以依次設置其他參數,直接在濃度單位相應顯示區域按一下可以選擇濃度單位,選中后,當前濃度單位方向顯示。當用戶設置完畢,按“確認”鍵即可開始已知添加測量。按“取消”鍵退出設置,返回儀器的起始狀態。
在這里,如果用戶需要重新標定電極,則可按“標定”鍵,儀器提示“標定電極嗎?”字樣,按“標定”鍵可以標定電極,具體標定方法同pX測量模式下的標定部分。
一切設置完畢,即可開始已知添加濃度測量。
其中顯示屏上方為當前的測量數據,下方為測量結果記錄,包括添加前后的電位、溫度等;右面為“確認”鍵、“取消”鍵、“設置”鍵等。
將相應離子選擇電極清洗干凈后,放入被測試樣液中,儀器顯示當前的電位、溫度值以及相應的pX值。
等顯示穩定后,按“確認”鍵,儀器存貯當前的電位,并顯示“添加標液”字樣,用戶按設定的體積值添加標液,等再次顯示穩定后,按確認鍵,儀器提示“測量結束!”字樣并計算當前試樣的濃度值
此時用戶可以存貯當前測量結果,或者打印結果。按“設置”鍵可以設置手動溫度、選擇濃度單位、設置mV分辨率以及pX分辨率等。
同樣的,如果用戶需要選擇樣品濃度的濃度單位,也可按以下方法操作:在樣品濃度結果顯示區域上按一下,則樣品濃度單位會自動切換一次。
按“結束”鍵,結束已知添加濃度測量,返回儀器的起始狀態。
4.8.1 已知添加濃度測量時空白濃度校正
在開始測量前,如果用戶需要進行空白濃度校正,則可按“空白”鍵,選擇校正空白濃度,之后按“確認”鍵,儀器提示“校正空白濃度嗎?”字樣后按“確認”鍵即可開始空白濃度校正。
進入空白濃度校正后,顯示以及操作完全同前面已知添加測量模式。測量結束后,按“結束”鍵,儀器返回當前參數設置狀態。
4.8.2 空白濃度清零
如果用戶希望清除上次的空白濃度值,則可按“空白”鍵,選擇“空白濃度清零”項后按“確認”鍵,即可將空白濃度值清零。
4.9 未知添加測量
本模式類似于已知添加, 只是在標準添加法中, 是將標準液添加到試樣中, 測量由于待測組份的濃度變化而引起的電極電位變化,從而測定試樣的濃度值, 同樣地, 如果將試樣添加到標準液中, 通過測量添加前后的電位變化, 也可測定試樣的濃度值。
在儀器的起始狀態,選擇好相應離子模式后,按“測量”鍵選擇“未知添加”項再按“確認”鍵即可進入未知添加測量模式
其中顯示屏上方為添加體積,指即將添加的試樣體積量;添加前體積即為標準溶液的體積量;標液濃度指標準溶液的濃度值,相應濃度單位列于右面。
本模式不必測定空白標準液的空白濃度值,具體操作可參考已知添加測量模式。
4.10 GRAN模式
儀器除常規測量方法外, 也可用GRAN法來測量含量較低的試樣。根據GRAN法的數學原理, 可用下式測得試樣的濃度值。
測量時, 先輸入標準溶液的濃度(Cs)和體積(Vs),以及待測試樣的體積(Vx),然后測量第一次添加標準液后待測試樣中的電極電位值,依次重復測量三次至八次,儀器即可計算出待測試樣的濃度值。
在儀器的起始狀態,選擇好相應離子模式后,按“測量”鍵選擇“GRAN模式”項再按“確認”鍵即可進入GRAN法測量模式
同樣按照實際情況,需要設置添加體積、添加前體積、標液濃度等參數,設置完畢即可開始GRAN模式測量。
其中顯示屏上方為當前的測量數據,下方為測量結果記錄,包括添加次數和依次的測量結果;右面為“確認”鍵、“取消”鍵、“設置”鍵等。
將電極清洗干凈,放入被測試樣液中,按設定的體積值添加標液,儀器顯示當前的電位、溫度值以及相應的pX值,等顯示穩定后,按“確認”鍵,儀器記錄并顯示本次的測量結果,然后提示“添加標液…”字樣,用戶可繼續添加標液。
在添加過程中,用戶按“設置”鍵,可設置手動溫度、選擇濃度單位、設置mV、pX分辨率等。
用戶依次重復添加標液并測量添加后的電位,當用戶添加完3次標液后,儀器會自動提示“繼續添加嗎?”字樣,
如果用戶還需要添加測量,則可按“繼續添加”鍵選擇繼續添加,否則按“結束”鍵結束測量,儀器即計算出待測試樣的濃度值,測量結束。
儀器允許用戶在任何時候按“結束”鍵結束測量。如果添加次數超過3次儀器同樣會認為前面的添加有效,計算出待測試樣的濃度值,測量結束。
測量結束后,用戶可以按“存貯”鍵存貯當前結果,“打印”鍵打印結果。按“結束”鍵退出GRAN模式,返回儀器的起始狀態。
五.儀器的維護
1. 儀器必須有良好的接地。
2. 開機前,須檢查電源是否接妥。
3. 儀器可供長期穩定使用。測試完樣品后, 所用電極應浸放在蒸餾水中。
4. 儀器不使用時, 短路插頭也要接上,以免儀器輸入開路而損壞儀器。
5. 有關離子選擇電極測試事項, 請參照有關材料, 務必遵守執行。
六、儀器的成套性
1.PXSJ-226型離子計 1臺;
2.T―820D型溫度傳感器 1支;
3. JB-1A型電磁攪拌器 1臺;
4.PF-1氟電極(01) 1支;
5.232參比電極(01) 1支;
6.電極輸入短路插頭(儀器出廠時接在測量電極插口上) 1只;
7.pH標準緩沖劑pH4,7,9 各5小包;
8. 附件一套,以隨機裝箱單為準。
七、附錄 氟離子溶液配制方法
1. 標準溶液:精確稱取4.20g分析純氟化鈉,溶于蒸餾水中,定容至1000mL,貯存于塑料瓶中。此溶液為1×10-1 mol/L F-。
1×10-2 mol/L F-:取1×10-1 mol/L F-溶液100ml,稀釋至1000ml;
1×10-3 mol/L F-:取1×10-2 mol/L F-溶液100ml,稀釋至1000ml;
2. 總離子強度調節劑(TISAB):稱取58.8g分析純二水檸檬酸鈉(Na3C6H5O7•2H2O),再稱取85g分析純硝酸鈉(NaNO3),溶于蒸餾水中,用HCl調節溶液至pH為5~6,稀釋至1000mL。
3. 試驗用溶液:
pF2(1×10-2 mol/L F-):取1×10-1 mol/L F-溶液10ml,加總離子強度調節劑(TISAB)20ml,用蒸餾水稀釋至100ml;
pF3(1×10-3 mol/L F-):取1×10-2 mol/L F-溶液10ml,加總離子強度調節劑(TISAB)20ml,用蒸餾水稀釋至100ml;
pF4(1×10-4 mol/L F-):取1×10-3 mol/L F-溶液10ml,加總離子強度調節劑(TISAB)20ml,用蒸餾水稀釋至100ml。


