目 錄
1 概述
2 儀器主要技術性能
3 儀器結構
4 儀器使用
5 儀器的維護與維修
6 儀器的成套性
7 附錄
敬告用戶:
請在使用本儀器前,詳細閱讀本說明書。
儀器超過一年必須送計量部門或有資格的單位復檢,合格后方可使用。
鈉玻璃電極的保質期為一年,出廠一年后,不管是否使用過,其性能都會受到影響,應及時更換。
新購或久置不用的鈉玻璃電極,在使用前必須在0.01mol/L氯化鈉溶液中浸泡24h(1升0.01mol/L氯化鈉溶液中加入5ml氨水)。
請使用本儀器隨機提供的通用電源器作為儀器的供電電源,若用戶選用其他的通用電源器以致發生不必要的安全問題,本公司概不負責。
1 概述
DWS-295型鈉離子計是一種常規的實驗室分析儀器,它主要用于實驗室對水樣中鈉離子濃度和水樣溫度測定(如蒸汽凝結水、除鹽水、鍋爐給水等),也可用于高等院校、科研機構、石油化工、微電子等部門測定天然水、鍋爐給水、工業排水等水中鈉離子濃度分析。
儀器特點:
● 儀器采用微處理器技術,使儀器具有自動溫度補償、自動校準、自動計算電極的百分理論斜率等功能。儀器具有斷電保護功能在儀器使用完畢后關機或非正常斷電情況下,儀器內部貯存的測量數據和設置的參數不會。
● 儀器對測量結果具有貯存、刪除、查閱、打印、保持功能。儀器最多可貯存各50套 pNa、mV或鈉離子濃度值的測量實驗數據,并提供兩套打印模式供用戶選擇。
● 儀器采用三電極測量系統,具有pNa值和溫度值、mV 值和溫度值或鈉離子濃度值和溫度值雙顯示。
● 儀器帶有RS―232接口,可接TP―16型串行打印機打印測量結果或與計算機通訊。
2 儀器主要技術性能
2.1 測量范圍
pNa 值:(0.00~9.00)pNa;
[Na+]濃度值:(2.3×107~2.3×10-2)μg/L;
mV值:(-1999~1999)mV;
溫度值:(-5.0~105.0)℃。
2.2 儀器級別:0.01級。
2.3 電子單元基本誤差
pNa 值:±0.01pNa±1個字;
pNa 值~[Na+]濃度值轉換的計算誤差:±0.3%(讀數);
溫度值:±0.3℃。
2.4 儀器的基本誤差
pNa值:±0.03pNa±1個字;
溫度值:在(0.0≤≤T≤60.0)℃范圍內,±0.5℃±1個字;
在其它范圍,±1.0℃±1個字。
2.5 儀器重復性誤差:不大于0.02pNa。
2.6 被測溶液溫度補償范圍:(0.0~50.0)℃。
2.7 電子單元穩定性:±0.01pNa±1個字/3h。
2.8 儀器正常工作條件
環境溫度:(5.0~35.0)℃;
相對濕度:不大于80%;
供電電源:直流通用電源(9V~15V,300mA,內正,外負);
除地磁場外,周圍無電磁場干擾。
2.9 外形尺寸:長×寬×高,290mm×200mm×70mm。
2.10 重量(kg):約1kg。
3 儀器結構
3.1 儀器正面圖
(1)顯示屏
(2)鍵盤
(3)電極梗座
3.2 儀器后面板

(4) 電源插座 (5) 測量電極插座
(6) 參比電極接線柱 (7) 接地接線柱
(8) 溫度傳感器插座 (9) RS-232接口
3.3 儀器配件
(10)多功能電極架 (注:電子單元單獨出廠時使用)
(11)6801A型pNa玻璃電極
(12)6801A電極套
(13)Q9短路插頭
(14)通用電源器
(15)T-818-B-6型溫度傳感器
(16)打印機連接線
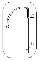
(17)6802A型甘汞電極
(18)6802A電極套





4 儀器使用
4.1 儀器安裝
a) 將多功能電極架梗(10)插入電極梗座(3)內。

b) 將6801A型 pNa玻璃電極(11)、6802A甘汞電極(17)和T-818-B-6溫度傳感器(15)夾在多功能電極架(10)上。

c) 拉下6801A型pNa玻璃電極(11)和6802A甘汞電極(17)前段的電極套(12)和電極套(18)。
d) 在測量電極插座(5)處拔去Q9短路插頭(13)。然后,分別將6801A型pNa玻璃電極(11)和T-818-B-6溫度傳感器(15)插入測量電極插座(5)和溫度傳感器插座(8)內,將6802A甘汞電極(17)接入參比電極接線柱(6)上。

e) 用高純水沖洗干凈電極(沖洗后切忌用濾紙吸干電極表面的水份),然后將電極和溫度傳感器浸入被測溶液中。

f) 通用電源器(14)輸出插頭插入儀器的電源插座(4)內。然后,接通通用電源器的電源,儀器可以進行正常操作。
g) 若用戶配置TP―16型打印機(打印機的安裝見該產品使用說明書),則將打印機連接線(16)分別插入儀器的RS―232接口(9)和打印機插座內。

4.2 儀器功能介紹
儀器有四種工作狀態。即pNa值測量、mV值測量、[Na+]濃度值測量和電極標定。儀器各工作狀態可通過pNa、mV、濃度和校準鍵進行切換。
儀器在pNa、mV或[Na+]濃度值測量工作狀態下,有打印、貯存、刪除、查閱和保持功能。

儀器共有15個操作鍵,分別為:ON/OFF、pNa、mV、濃度、校準、打印1、打印2、貯存、刪除、查閱、保持、▲、▼、確認和取消。
● ON/OFF鍵:用于儀器的開機或關機。
● pNa、mV、濃度和校準鍵:儀器在任何工作狀態下,按下某一鍵,即進入該工作狀態。
● 打印1、打印2、貯存、刪除、查閱和保持鍵:儀器處于pNa、mV、或[Na+]濃度值測量工作狀態時,按下某一鍵,儀器進入相應的功能。
● ▲、▼鍵:用于調節參數。
● 確認鍵:用于確認儀器進入某一功能。
● 取消鍵:用于取消誤操作。
4.3 開機
按下“ON/OFF”鍵,儀器將顯示“DWS-295 鈉離子計”和“雷磁”商標,顯示幾秒后,儀器自動進入pNa 測量工作狀態。
1、儀器不接溫度傳感器, 則儀器溫度值缺省值設為25.0℃!
2、當水樣中鈉離子含量較高,即pNa 值<5.00時,采用靜態測量方法。而當水樣中鈉離子含量較低,即pNa 值≥5.00時,則采用動態測量方法。
3、在動態測量時,建議用戶選購本廠生產的DWS-295-1型堿化裝置進行配套測量,用戶也可用自制堿化裝置進行配套測量。
4.4 電極標定
•校準(標定)時所用溶液的pNa 值
儀器采用二點標定法,為適應各種pNa 值測量的需要,采用二組pNa 值不同的校準溶液,用戶可根據pNa 值測量范圍自行選擇。
序號 | 標定1標準溶液pNa值 | 標定2標準溶液pNa值 |
1 | 5.00pNa | 3.00pNa |
2 | 4.00pNa | 2.00pNa |
一般采用第1組數據對儀器進行動態校準。采用第2 組數據對儀器進行靜態校準。
● 靜態標定方法
當水樣中鈉離子含量較高,即pNa 值<5.00時,采用此方法,操作步驟如下:
a) 將鈉玻璃電極插入儀器的測量電極插座內和甘汞電極接入參比電極接線柱上,并將電極用高純水清洗干凈,放入選定的校準溶液A中。
b) 在儀器處于任何工作狀態下,按“校準”鍵,儀器即進入“標定1”工作狀態,此時,儀器顯示“標定1”以及當前測得pNa值和溫度值。
c) 當顯示屏上的pNa值讀數趨于穩定后,按“確認”鍵,儀器顯示“標定1”和“5.00pNa”,若標定1校準溶液選擇pNa值為4.00pNa時,按“▲”、“▼”鍵,使顯示屏顯示4.00pNa,再按“校準”鍵,儀器即進入標定2狀態。
此時,pNa、mV和濃度鍵均有效。如按下其中某一鍵,則儀器進入相應的工作狀態,參數值仍與標定前相同。
d) 在完成一點標定后,將電極取出重新用去離子水充分淋洗電極,清洗干凈(沖洗后切忌用濾紙吸干電極表面的水份),放入選定的校準溶液B中。當顯示屏上的pNa值讀數趨于穩定后,按下“確認”鍵,儀器顯示零電位pNa值和百分理論斜率值,說明儀器已完成二點標定。靜態標定時,燒杯放在電磁攪拌器上,溶液均勻,緩慢攪拌。此時,pNa、mV和濃度鍵均有效。如按下其中某一鍵,則儀器進入相應的工作狀態。
•動態標定方法
當水樣中鈉離子含量較低,即pNa 值≥5.00時,則采用此方法。建議用戶選購本廠生產的DWS-295-1型堿化裝置進行配套校準,用戶也可用自制堿化裝置進行配套校準。其操作方法同靜態標定方法。
注:儀器經過標定后得到的參數值關機后不會丟失!
4.5 pNa值測量
開機,如用戶不需對電極進行校準,則儀器自動進入pNa測量工作狀態,儀器顯示當前溶液中的pNa 值、溫度值和電極的百分理論斜率。若需對電極進行標定,則可按本節中“電極標定”進行操作。然后,再按“pNa”鍵,儀器即進入pNa 測量工作狀態。
在正常測量中,當水樣中鈉離子含量較高時,采用靜態測量方法。
而當水樣中鈉離子含量較低時,則采用動態測量方法。同時,在測量中請注意以下幾個問題:
● 溶液的堿化。由于H+離子對鈉玻璃電極的測量產生干擾。因此,在正常測量時,標準溶液和被測溶液必須充分堿化。溶液的pH值應滿足pH>pNa+3的式子。例如:測量鈉離子含量為5.00pNa時,其溶液的pH值應該調節到pH>5+3>8。鈉離子含量愈低其溶液的pH值調節愈趨向堿性。
● 調節溶液pH值的堿化試劑,可用二異丙胺、二甲胺、二乙胺和氨水等試劑。用戶可用pH試紙檢查堿化效果。在靜態測量和校準時,向燒杯中滴加班10滴左右二異丙胺等堿化試劑即可。在動態測量和校準時,注意堿化裝置中堿化試劑定期更換,以確保堿化效果。
● 鈉玻璃電極的預處理:當溶液的鈉離子濃度測量范圍不同時,其鈉玻璃電極的預處理方法也不相同。在測量范圍為(1.00~5.00)pNa時,鈉
玻璃電極一般浸于0.1 mol/L NaCl溶液中,幾小時后,取出沖洗干凈后即可使用。而測量范圍為pNa>5時,鈉玻璃電極經上述處理后,還需要將鈉玻璃電極浸于1mg/L NaCl+10ml濃氨水的溶液中浸泡,以(2~3)天為一周期(定期調換浸泡溶液),反復(5~6)次。鑒于以上原因,建議用戶在測量鈉離子濃度變化范圍較大的不同溶液時,采用經過不同方法預處理的二支鈉玻璃電極進行測量。
● 當溶液的鈉離子濃度pNa>5時,其測量的響應時間比測量高濃度的溶液慢。而且低濃度溶液的測量需仔細操作(其操作方法請參照各行業的操作規程)。
4.6 mV值測量
不論儀器處于何種工作狀態時,按“mV”鍵,儀器即進入mV值測量工作狀態。此時,儀器顯示當前的電極電位mV值和溫度值。
4.7 [Na+]濃度值測量
不論儀器處于何種工作狀態時,按“濃度”鍵,儀器即進入[Na+]濃度值測量工作狀態。此時,儀器顯示當前的電極電位[Na+]濃度值和溫度值。
4.8 貯存功能
儀器有三個存貯器。一個是pNa值測量工作狀態下,貯存測得pNa值的實驗數據。另一個是mV 值測量工作狀態下,貯存測得mV 值的實驗數據。再一個是[Na+]濃度值測量測量工作狀態下,貯存測得[Na+]濃度值的實驗數據。
當儀器處于pNa值、mV 值或[Na+]濃度值測量工作狀態時,按“貯
存”鍵,儀器即將當前測量數據貯存起來。每種測量模式最多可存貯50套測量數據,超過50套,儀器將自動重復從No.1存貯。貯存時,儀器顯示當前存貯號和存貯標志。存貯完畢,儀器自動返回貯存前測量工作狀態。
4.9 刪除功能
當儀器處于pNa值、mV 值或[Na+]濃度值測量工作狀態時,如果需要將某一存貯中的貯存的測量數據全部刪除,按“刪除”鍵,儀器顯示“貯存數據全部刪除?”,再按“確認”鍵,即刪除存貯器內全部實驗數據。刪除完畢,儀器自動返回當前測量工作狀態。若誤按“刪除”鍵,則可按“取消”鍵,儀器也自動返回當前測量工作狀態。
1、存貯的數據一旦被刪除,便不能恢復!
2、若用戶需刪除某個無效的數據時,可按本節中查閱功能下的刪除操作方法進行刪除。
4.10 打印功能
打印開始前,請參照打印機說明書,將波特率設為9600。將打印機連接線插入RS-232接口內。
1. TP-16打印機的設置為:波特率設置為9600,無奇偶位,即DIP開關設置為: 1-ON,2-OFF,3-OFF,4-OFF,5-ON,6-ON。
2. 儀器必須在斷電情況下連接打印機。
● 即時打印
當儀器處于pNa值、mV 值或[Na+]濃度值測量工作狀態時,按“打印1”鍵,儀器即打印在當前測量工作狀態下測得的實驗數據,打印完畢,儀器自動返回當前測量工作狀態。
pNa值測量時,即時打印格式:
RESULT:
T:26.1
pNa :2.56
mV測量值時,即時打印格式:
RESULT:
T:26.1
pNa:988
[Na+]濃度值測量時,即時打印格式:
RESULT:
T:26.1
CONC:2.45mg/L
● 存貯打印
當儀器處于pNa值、mV 值或[Na+]濃度值測量工作狀態時,按“打印2”鍵,儀器顯示“打印...”,并打印儀器在當前測量工作狀態下存貯器內的所有實驗數據,打印完畢,儀器自動返回打印前測量工作狀。
pNa值測量時,存貯打印格式:
No.1
T:41.0
pNa:3.77
No.2
T:25.0
pNa:6.87
mV 值測量時,存貯打印格式:
No.1
T:20.0
mV:200
No.2
T:10.5
mV:-1400
No.3
T:60.0
mV:366
[Na+]濃度值測量時,存貯打印格式:
No.1
T:25.0
CONC:3.77g/L
No.2
T:20.0
CONC:0.236mg/L
No.3
T:30.0
CONC:49.8μg/L
1.在打印過程中,若用戶需要中途終止打印,則按“取消”鍵即 可.
2.如果存貯器內沒有貯存數據,儀器將顯示“沒有貯存數據!”. 此顯示幾秒后,儀器自動返回打印前測量工作狀態.
4.11 查閱功能
當儀器處于pNa值、mV 值或[Na+]濃度值測量工作狀態時,按“查閱”鍵,儀器即進入查閱功能,通過按“▲”和“▼”鍵,可查閱當前測量工作狀態下存貯器內的全部實驗數據。若要退出查閱功能,按“取消”鍵,儀器自動返回查閱前測量工作狀態。
如果用戶在查閱pNa值存貯數據時,想查閱mV值或[Na+]濃度值存貯數據, 不必退出查閱狀態,直接按“mV”或“濃度”鍵即可。反之亦然。
如果用戶發現存貯的某個數據確實無用,則可使箭頭指向此數據然后按“刪除”鍵,儀器提示確認后,用戶按“確認”鍵,即可刪除此數據。但是,數據一旦被刪除就不能再恢復,望用戶切記。如用戶誤按“刪除”鍵,則按“取消”鍵,儀器自動返回查閱功能。
4.12 保持功能
當儀器處于pNa值、mV 值或[Na+]濃度值測量工作狀態時,按“保 持”鍵,儀器即保持當前測量工作狀態下測得的實驗數據。再按“保持”或“取消”鍵,儀器自動返回當前測量工作狀態。若儀器處于保持功能時,按pNa 、mV、校準和濃度中的某一鍵,儀器則進入對應的工作狀態。
5 儀器的維護與維修
5.1 維護
● 儀器的插座必須保持清潔、干燥,切忌與酸、堿、鹽溶液接觸,防止受潮,以確保儀器絕緣和高輸入阻抗性能。儀器不用時,將Q9短路插頭插入測量電極的插座內,防止灰塵及水汽浸入。在環境濕度較高的場所使用時,應把電極插頭用干凈紗布擦干。
● 在測量鈉含量較低時,電極的支管和容器的污染往往是造成測量誤差的主要原因。因此在正常測量前,要用高純水沖洗干凈(沖洗后切忌用濾紙吸干電極表面的水份)。電極在測鈉含量較高的溶液如(1~0.1)mol/L NaCl溶液后,再測鈉含量較低的溶液(10-5~10-7)mol/L純水時,不易得到正確的測量結果。電極必須在1mg/LNaCl堿性溶液中浸泡一天,才能恢復。
● 當水樣溫度低于20℃(特別低于10℃) 時,鈉玻璃電極的內阻増加,響應時間比正常慢,屬正常現象。此時讀數時間相對延長,以確保測量精度。水樣溫度増高,響應時間會加快。
5.2 維修
● 開機前,須檢查電源是否接妥,應保證儀器良好接地。電極的連接須可靠,防止腐蝕性氣體侵襲。
● 接通電源后,若顯示屏不亮,應檢查電源器是否有電壓輸出。
● 若儀器顯示的pNa值不正常,應檢查測量電極插口是否接觸良好,若仍不能正常工作,則可更換電極。
● 若上述各種情況排除后,儀器仍不能正常工作,則與本廠有關部門聯系。
6 儀器的成套性
a) DWS―295型鈉離子計電子單元 1臺
b) 6801鈉玻璃電極(A) 1支
c) 6802參比電極(A) 1支
d) T―818―B―6型溫度傳感器(二次表單獨出廠配) 1支
e) 直流通用電源器(9V DC,500mA)
注:電源插頭:中心(+),外殼(-) 1只
f) 附件一套,以隨機裝箱單為準
7 附錄
7.1 高純水(俗稱“無鈉水”)的制備
儀器用的校準溶液或檢驗儀器線性用的標準鈉離子溶液,都需要用高純水來配制。制備高純水用的盛水容器及測量用的燒杯和量具等均用聚乙烯或有機玻璃等材料制成,一般需用有1升塑料瓶,(5~20)升聚乙烯水桶(有蓋),250毫升塑料燒杯等,新購的塑料用具應用鹽酸處理作專用,不用時最好放滿純水。
“無鈉水”的制備方法是用蒸餾水,通過陽離子交換柱,進入陰離子交換柱,再通過陰陽混合離子交換柱,最后流過陽離子交換柱。“無鈉水”的[Na+]濃度值<1ppb(約7.5 pNa )。流速應慢一些,約10米/小時以下。制成的“無鈉水”應放在專用塑料桶內密封保存,避免污染。
7.2 鈉離子標準溶液的制備
● pNa為2標準溶液的制備
,經(100~110)℃干燥2h,并放入干燥器中冷卻至室溫,準確稱取基準NaCl試劑0.5844g,用去離子配制成1000ml溶液。
● pNa為3標準溶液的制備
吸取pNa為2標準溶液100ml,并移到1000ml容量瓶中,用“無鈉水”稀釋至1000ml刻度即可。
● pNa為4標準溶液的制備
吸取pNa為3標準溶液100ml,并移到1000ml容量瓶中,用“無鈉水”稀釋至1000ml刻度即可。
● pNa為5標準溶液的制備
吸取pNa為4標準溶液100ml,并移到1000ml容量瓶中,用“無鈉水”稀釋至1000ml刻度即可。
注:標準溶液分別貯存于干凈的聚乙烯瓶中備用。


