敬告讀者:
● 請在使用本儀器前,詳細閱讀本說明書。
● 儀器超過一年必須送計量部門或有資格的單位復檢,合格后方可使用。
● 玻璃電極的保質期為一年,出廠一年以后,不管是否使用,其性能都會受到影響,應及時更換。
● 第一次使用的pH電極或長期停用的pH電極,在使用前必須在3mol/L氯化鉀溶液中浸泡24h。
目 錄
● 概述
● 儀器的主要技術性能
● 儀器結構
● 操作步驟
● 儀器的維護
● 緩沖溶液配制方法
● 電極使用維護的注意事項
● 常見故障及其處理
● 成套性
一、概述
PHS-2F型pH計是一臺數字顯示 pH計, 它采用3位半十進制 LED數字顯示。該機適用于大專院校、研究院所、工礦企業的化驗室取樣測定水溶液的 pH值和電位(mV)值、此外,還可配上離子選擇性電極,測出該電極的電極電位。
二、儀器的主要技術性能
1.測量范圍: pH:(0.00~14.00)pH
mV:(-1400~+1400)mV
2.儀器級別:0.02級
3.最小顯示單位:0.01 pH,lmV
4.溫度補償范圍:(0~60)℃
5.電子單元基本誤差: pH:±0.01 pH
mV:±2mV±l個字
6.儀器的基本誤差:±0.02pH±1個字
7.電子單元輸入電流:不大于2×10-12A
8.電子單元輸入阻抗:不小于 l×1012Ω
9.溫度補償器誤差:±0.01 pH
10. 電子單元重復性誤差: pH:不大于0.01 pH
mV:不大于lmV
11.儀器重復性誤差:不大于0.01pH
12. 電子單元穩定性:±0.01Ph/3h
13.外形尺寸 1×b×h, mm:290×210×95
14. 重 量:1.5kg
15.正常使用條件:
(1) 環境溫度:(5~40)℃;
(2) 相對濕度:不大于85%;
(3) 供電電源:AC(220±22)V,(50±l)Hz;
(4) 無顯著的振動,除地球磁場外無外磁場干擾。
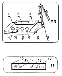
三、儀器結構
儀器主機:外型結構

l-機箱蓋 2-顯示屏 3-面板
4-選擇開關旋鈕( pH、 mV)
5-溫度補償調節旋鈕
6-斜率補償調節旋鈕
7-定位調節旋鈕
8-機箱底 9-電極梗插座
10-儀器后面板
11-電源插座
12-電源開關
13-保險絲
14-參比電極接口 15-測量電極插座
儀器附件及選購件
16-多功能電極架
17-E–201–C型塑殼可充式pH復合電極 18-電極套
19-電源線 20-Q9短路插頭
21-電極轉換器(選購件) 21A-轉換器插頭 21B-轉換器插座
四、操作步驟
1、開機前準備
a) 電極架(16)旋入電極架插座(9),調節電極架到適當位置。
b) 復合電極(17)夾在 電極架(16)上 拉下電極前端的電極套(18)
c) 拉下橡皮套,露出復合電極上端小孔
d) 用蒸餾水清洗電極
2、開機
a) 電源線(19)插入電源插座(11)
b) 按下電源開關(12),電源接通后,預熱30min,接著進行標定。
3、標定
儀器使用前、先要標定。一般說來,儀器在連續使用時,每天要標定一次。

a) 在測量電極插座(15)處拔去Q9短路插頭(20);
b) 在測量電極插座(l5)處插上復合電極(l7);
c) 如不用復合電極,則在測量電極插座(15)處插上電極轉換器的插頭(21A) ;玻璃電極插頭插入轉換器插座(21B)處:參比電極接入參比電極接口(14)處;
d) 把選擇開關旋鈕(4)調到pH檔;
e) 調節溫度補償旋鈕(5),使旋鈕白線對準溶液溫度值;
f) 把斜率調節旋鈕(6)順時針旋到底(即調到100%位置);
g) 把用蒸餾水清洗過的電極插入pH=6.86的緩沖溶液中;
h) 調節定位調節旋鈕(7)、使儀器顯示讀數與該緩沖溶液當時溫度下的pH值相一致(如用混合磷酸鹽定位溫度為10℃時,pH =6.92);
i) 用蒸餾水清洗電極、再插入pH=4.00(或pH=9.18 )的標準緩沖溶液中,調節斜率旋鈕使儀器顯示讀數與該緩沖液中當時溫度下的pH值一致;
j) 重復( g ) ~ ( i )直至不用再調節定位或斜率兩調節旋鈕為止;儀器完成標定。
4、測量 pH值
經標定過的儀器、即可用來測量被測溶液,被測溶液與標定溶液溫度相同與否、測量步驟也有所不同。
(l) 被測溶液與定位溶液溫度相同時,測量步聚如下:
a) 用蒸餾水清洗電極頭部,用被測溶液清洗一次:
b) 把電極浸入被測溶液中,用玻璃棒攪拌溶液、使溶液均勻,在顯示屏上讀出溶液的 pH值。
(2) 被測溶液和定位溶液溫度不同時,測量步驟如下:
a) 用蒸餾水清洗電極頭部,用被測溶液清洗一次;
b) 用溫度計測出被測溶液的溫度值;
c) 調節“溫度”調節旋鈕(5),使白線對準被測溶液的溫度值;
d) 把電極插入被測溶液內,用玻璃棒攪拌溶液, 使溶液均勻后讀出該溶液的pH值。
5、測量電極電位(mV)值
(1) 把離子選擇電極或金屬電極和參比電極夾在電極架上;
(2) 用蒸餾水清洗電極頭部,用被測溶液清洗一次;
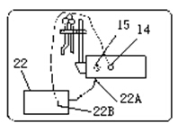
(3) 把電極轉換器的插頭(22A)插入儀器后部的測量電極插座(15)處;把離子電極的插頭插入轉換器的插座(22B)處;
(4) 把參比電極接入儀器后部的參比電極接口(14)處;
(5) 把兩種電極插在被測溶液內,將溶液攪拌均勻后,即可在顯示屏上讀出該離子選擇電極的電極電位(mV值),還可自動顯示±極性。
(6) 如果被測信號超出儀器的測量范圍,或測量端開路時,顯示屏會不亮,作超載報警。
(7) 使用金屬電極測量電極電位時,用帶夾子的Q9插頭,Q9插 接入測量電極插座(15)處,夾子與金屬電極導線相接,參比電極接入參比電極接口(14)處。
五、儀器維護
儀器的經常正確使用與維護,可保證儀器正常、可靠地使用,特別象pH計一類的儀器,它必須具有很高的輸入阻抗,而使用環境需經常接觸化學藥品,所以更需合理維護。
1. 儀器的輸入端(測量電極插座15)必須保持干燥清潔。儀器不用時,將Q9短路插頭插入
插座,防止灰塵及水汽浸入。
2.帶夾子連線的Q9插頭及電極轉換器專為配用其他電極時使用, 平時注意防潮防塵。
3.測量時、電極的引入導線應保持靜止,否則會引起測量不穩定。
4.儀器采用了 M0S集成電路、因此。在檢修時應保證電烙鐵有良好的接地。
5.用緩沖溶液標定儀器時,要保證緩沖溶液的可靠性,不能配錯緩沖溶液,否則將導致測量結果產生誤差。
六、緩沖溶液配制方法
1. pH4.00溶液:用GR鄰苯二甲酸氫鉀10.12g,溶解于1000ml的高純去離子水中。
2. pH6.86溶液:用GR磷酸二氫鉀3.387g、GR磷酸氫二鈉3.533g,溶解于1000mL的高純去離子水中。
3. pH9.18溶液:用GR硼砂3.80g、溶解于1000mL的高純去離子水中。
注意:配制2、3溶液所用的水,應預先煮沸15 min~30min,除去水中溶解的二氧化碳。在冷卻過程中應避免與空氣接觸,以防止二氧化碳的污染。
七、電極使用及維護的注意事項
1. 電極在測量前必須用已知 pH值的標準緩沖溶液進行定位校準,其值愈接近被測值愈好。
2. 取下電極套后,應避免電極的敏感玻璃泡與硬物接觸,因為任何破損或擦毛都使電極失效。
3. 測量后,及時將電極保護套套上,套內應放少量外參比補充液以保持電極球泡的濕潤。切忌浸泡在蒸餾水中。
4. 復合電極的外參比補充液為3mol/L氯化鉀溶液、補充液可以從電極上端小孔加入,復合電極不使用時,拉上橡皮套,防止補充液干涸。
5.電極的引出端必須保持清潔干燥,絕對防止輸出兩端短路,否則將導致測量失準或失效。
6.電極應與輸入阻抗較高的pH計(≥1012Ω) 配套,以使其保持良好的特性。
7.電極應避免長期浸在蒸餾水、蛋白質溶液和酸性氟化物溶液中.
8.電極避免與有機硅油接觸。
9.電極經長期使用后,如發現斜率略有降低,則可把電極下端浸泡在4%HF(氫氟酸)中3~5秒鐘, 用蒸餾水洗凈、然后在0.1 mo l/L鹽酸溶液中浸泡,使之復新。
10.被測溶液中如含有易污染敏感球泡或堵塞液接界的物質而使電極鈍化,會出現斜率降低現象,顯示讀數不準。如發生該現象,則應根據污染物質的性質,用適當溶液清洗,使電極復新。
注:選用清洗劑時、不能用四氯化碳、三氯乙烯、四氫呋喃等能溶解聚碳酸樹脂的清洗液,因為電極外殼是用聚碳酸樹脂制成的,其溶解后極易污染敏感玻璃球泡,從而使電極失效。也不能用復合電極去測上述溶液。
污染物質和清洗劑參考如下:
污染物 清洗劑
無機金屬氧化物 低于 lmol/L 稀酸
有機油脂類物質 稀洗滌劑(弱堿性)
樹脂高分子物質 酒精、丙酮、乙醚
蛋白質血球沉淀物 酸性酶溶液(如食母生)
顏料類物質 稀漂白液、過氧化氫
八、常見故障及其處理
故 障 原因及處理
一、電源接通,數字亂跳 儀器輸入端開路。應插上短路
插或電極插頭。
二、定位能調6.86pH但 電極失效,更換電極。
調不到4.00pH。
三、斜率調節不起作用。 斜率電位器壞,更換斜率電位器
九、成 套 性
1. PHS—2F型pH計 l臺
2. E—201—C型塑殼可充式pH復合電極 1支
3. 附件一套,以隨機裝箱單為準
若用戶需測量氧化—還原電位(ORP)或測量相應的離子電極電位之場合,請用戶選購電極轉換器。
附錄:緩沖溶液的pH值與溫度關系對照表
溫度℃ | 0.05mol/kg 鄰苯二鉀酸氫鉀 | 0.025mol/kg 混合物磷酸鹽 | 0.01mol/kg 四硼酸鈉 |
5 | 4.00 | 6.95 | 9.39 |
10 | 4.00 | 6.92 | 9.33 |
15 | 4.00 | 6.90 | 9.28 |
20 | 4.00 | 6.88 | 9.23 |
25 | 4.00 | 6.86 | 9.18 |
30 | 4.01 | 6.85 | 9.14 |
35 | 4.02 | 6.84 | 9.11 |
40 | 4.03 | 6.84 | 9.07 |
45 | 4.04 | 6.84 | 9.04 |
50 | 4.06 | 6.83 | 9.03 |
55 | 4.07 | 6.83 | 8.99 |
60 | 4.09 | 6.84 | 8.97 |

