目 錄
1 概述
2 儀器主要技術性能
3 儀器結構
4 儀器使用
5 儀器的維護與維修
6 儀器的成套性
7 附錄
敬告用戶:
請在使用本儀器前,詳細閱讀本說明書。
儀器超過一年必須送計量部門或有資格的單位復檢,合格后方可使用。
玻璃電極的保質期為一年,出廠一年后,不管是否使用過,其性能都會受到影響,應及時更換。
第一次使用的pH電極或長期停用的pH電極,在使用前必須在3mol/L氯化鉀溶液中浸泡24小時。
請使用本儀器隨機提供的通用電源器作為儀器的供電電源,若用戶選用其他的通用電源器以致發生不必要的安全問題,本公司概不負責。
一、概述
PHSJ-4A型實驗室pH計是一臺智能型的實驗室常規分析測量器,它適用于醫藥、環保、高等院校和科研單位的化驗室測量水溶液中pH值,也可用于測量各種離子選擇電極的電極電位和溶液溫度。
儀器特點:
● 儀器采用微處理器技術,使儀器具有自動溫度補償、自動校準、自動計算電極的百分理論斜率等功能。同時,儀器也可以進行手動溫度補償。儀器具有斷電保護功能在儀器使用完畢后關機或非正常斷電情況下,儀器內部貯存的測量數據和設置的參數不會丟失。
● 儀器對測量結果可以貯存、刪除、查閱、打印。儀器最多可貯存各50套 pH或mV測量的實驗數據,并提供兩套打印模式供用戶選擇。
● 在(0.0~60.0)℃溫度范圍內,用戶可選擇五種pH緩沖溶液對儀器進行一 點或二點標定。用戶通過調節等電位點,可以測量純水、超純水和鍋爐水的pH值,這樣,儀器可以廣泛地滿足用戶的需求。
● 儀器帶有RS-232接口,可接TP-16型打印機打印測量結果或與計算機通訊。
二、儀器主要技術性能
2.1 測量范圍 pH:(0.000~14.000)pH
mV:(-1999.9~1999.9)mV
溫度:(-5.0~105.0)℃
2.2 分辨率: pH:0.1/0.01/0.001pH
mV:0.1mV
溫度:0.1℃
2.3 電子單元基本誤差:
pH:0.005pH;
mV:±0.2mV(±399.9mV范圍內)
或 ±0.03%FS(其它范圍);
溫度:0.3℃
2.4 儀器基本誤差:
pH:0.01pH1個字;
溫度:0.5℃1個字(0℃≤T≤60.0℃)
1.0℃1個字(在其它范圍)
2.5 電子單元輸入電流:不大于1×10-12A
2.6 電子單元輸入阻抗:不小于3×1012Ω
2.7 電子單元重復性:pH:不大于0.001pH
mV:不大于0.1mV
溫度:不大于0.2℃
2.8 自動(0.0~60.0)℃手動溫度補償范圍:(-5.0~105.0)℃
2.9 電子單元穩定性:0.005pH1個字/3h
2.10 標定方式:一點或二點自動標定
2.11 用于校準儀器的五種標準緩沖溶液(25.0℃):
0.05mol/kg 草酸三氫鉀 1.679pH
0.05 mol/kg 鄰苯二甲酸氫鉀 4.005pH
0.025 mol/kg 混合磷酸鹽 6.865pH
0.01 mol/kg 硼砂 9.180pH
飽和 氫氧化鈣 12.454pH
2.12 儀器正常工作條件
環境溫度: (15~35)℃
相對濕度: 不大于75%
供電電源:直流通用電源(+9V~+15V,500mA,內正,外負);
除地磁場外,周圍無電磁場干擾
2.13 外形尺寸(mm):290×200×70(長×寬×高)
2.14 重量(kg):約1kg
三、儀器結構
3.1 儀器正面圖
(1) 顯示屏
(2) 鍵盤
3.2 儀器后面板
(4) 電源插座 (5) 測量電極插座
(6) 參比電極接線柱 (7) 接地接線柱
(8) 溫度傳感器插座 (9) RS-232接口
3.3 儀器配件
(10)多功能電極架
(11)E-201-C-9型pH復合電極
(12)電極套
(13)Q9短路插頭
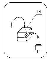
(14)通用電源器
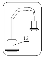
(15)T-818-B-6型溫度傳感器
(16)打印機連接線





四、儀器使用
4.1 儀器安裝
a) 將多功能電極架(10)插入電極架座(3)中

b) pH復合電極(11)和溫度傳感器(15)夾在多功能電極架(10)上。

c) 拉下pH復合電極(11)前段的電極套(12)。

d) 在測量電極插座(5)處拔去Q9短路插頭(13)。然后,分別將pH復合電極(11)和溫度傳感器(15)插入測量電極插座(5)和溫度傳感器插座(8)內。

e) 用蒸餾水清洗復合電極,清洗后再用被測溶液清洗一次。然后將復合電極和溫度傳感器浸入被測溶液中。

f) 通用電源器(14)輸出插頭插入儀器的電源插座(4)內。然后,接通通用電源器的電源,儀器可以進行正常操作。

g) 若用戶配置TP―16型打印機(打印機的安裝見該產品使用說明書),則將打印機連接線(16)分別插入儀器的RS―232接口(9)和打印機插座內。

4.2 儀器功能介紹
儀器有五種工作狀態。即pH測量、mV測量、溫度測量、電極標定和等電位點選擇。儀器各工作狀態可通過pH、mV、、溫度、校準和等電位點鍵進行切換。
儀器在pH或mV測量工作狀態下,有打印、貯存、刪除、查閱、功能。
儀器共有15個操作鍵,分別為:ON/OFF、pH、mV、溫度、校準、等電位點、分辨率、打印、貯存、刪除、查閱、▲、▼、確認和取消。
● ON/OFF鍵:用于儀器的開機或關機。
● pH、mV、溫度、校準和等電位點鍵:儀器在任何工作狀態下,按下某一鍵,即進入該工作狀態。
● 分辨率鍵:用于在pH測量狀態時,選擇合適的分辨率。
● 打印、貯存、刪除和查閱鍵:儀器處于pH或mV測量工作狀態時,按下某一鍵,儀器進入相應的功能。
● ▲、▼鍵:用于調節參數。
● 確認鍵:用于確認儀器進入某一功能。
● 取消鍵:用于取消誤操作。
4.3 開機
按下“ON/OFF”鍵,儀器將顯示“PHSJ-4A pH計”和“雷磁”商標,此顯示幾秒后,儀器自動進入pH測量工作狀態。
4.4 等電位點
儀器處于任何工作狀態下,按下“等電位點”鍵,儀器即進入“等電位點”選擇工作狀態。儀器設有3個等電位點,即等電位點7.000pH、 12.000pH、17.000pH。用戶可通過“▲”或“▼”鍵選用所需的等電位點。
一般水溶液的pH測量選用等電位點7.000pH。
純水和超純水溶液的pH測量選用等電位點12.000pH。在此狀態下,儀器對該溫度的溫度系數起自動補償作用。
測量含有氨水溶液的pH值選用等電位點17.000pH。在此狀態下,儀器對該溫度的溫度系數起自動補償作用。
此時,pH、mV、溫度和校準鍵均有效。如按下其中某一鍵,則儀器進入相應的工作狀態。
4.5 電極標定
● 一點標定
一點標定含義是只采用一種pH標準緩沖溶液對電極系統進行標定,
用于自動校準儀器的定位值。儀器把pH復合電極的百分理論斜率作為100%,在測量精度要求不高的情況下,可采用此方法,簡化操作。操作步驟如下:
a) 將pH 復合電極和溫度傳感器分別插入儀器的測量電極插座和溫度傳感器插座內,并將該電極用蒸餾水清洗干凈,(放入pH標準緩沖溶液中)在規定的五種pH標準緩沖溶液中選擇一種和被測溶液pH值接近的pH標準緩沖溶液進行標定的任意一種)。
b) 在儀器處于任何工作狀態下,按“校準”鍵,儀器即進入“標定1”工作狀態,此時,儀器顯示“標定1”以及當前測得pH值和溫度值。
c) 當顯示屏上的pH值讀數趨于穩定后,按“確認”鍵,儀器顯示“標定1 結束!”以及pH值和斜率值,說明儀器已完成一點標定。此時,pH、mV、校準和等電位點鍵均有效。如按下其中某一鍵,則儀器進入相應的工作狀態。
● 二點標定
二點標定是為了提高pH的測量精度。其含義是選用二種pH標準緩沖溶液對電極系統進行標定,測得pH復合電極的實際百分理論斜率和定位值操作步驟如下:
a) 在完成一點標定后,將電極取出重新用蒸餾水清洗干凈,放入其余四種pH標準緩沖液中的一種。
b) 再按“校準”鍵,使儀器進入“標定2”工作狀態,儀器顯示“標定2”以及當前的pH值和溫度值。
c) 當顯示屏上的pH值讀數趨于穩定后,按下“確認”鍵,儀器顯示“標定2結束!”以及pH值和斜率值,說明儀器已完成二點標定。 此時,pH、mV、溫度和等電位點鍵均有效。如按下其中某一鍵,儀器進入相應的工作狀態。
注:儀器經過標定后得到的參數值關機后不會丟失!
4.6 溫度測量
在儀器處于任何工作狀態下,按“溫度”鍵,儀器即進入溫度測量工作狀態,若儀器接入溫度傳感器,則儀器自動測量溫度值;若儀器不接入溫度傳感器,則通過“▲”或“▼”鍵設置溫度值。
此時,pH、mV、校準和等電位點鍵均有效。如按下其中某一鍵,則儀器進入相應的工作狀態。
4.7 pH值測量
開機,如用戶不需對pH復合電極進行校準,則儀器自動進入pH測量工作狀態,儀器顯示當前溶液的pH值、溫度值以及電極的百分理論斜和選擇的等電位點。若需對pH電極進行標定,則可按本節中“電極標定”進行操作,然后再按“pH”鍵儀器進入pH測量狀態。
4.8 電極電位(mV)值測量
不論儀器處于何種工作狀態,按“mV”鍵,儀器即進入mV測量工作狀態,此時儀器顯示當前的電極電位(mV)值和溫度值。
(1) 將離子選擇電極(或金屬電極)和甘汞電極夾在電極架上;
(2) 用蒸餾水表洗電極頭部,用被測溶液清潔一次;
(3) 把離子電極插頭插入后面板插座(5)中;
(4) 把參比電極插頭插入后面板插座(6)中;
(5) 把兩種電極插在被測溶液內,將溶液攪拌均勻后,即可在顯示屏上讀出離子選擇電極的電位(mV值),還可自動顯示電位極性
(6) 如果被測信號超出儀器的測量范圍,或測量端開路時,無數據顯示,作超載報警。
4.9 貯存功能
儀器有二個存貯器。一個是pH測量工作狀態下,貯存測得pH的實驗數據。另一個是mV測量工作狀態下,貯存測得mV的實驗數據。
當儀器處于pH或mV測量工作狀態時,按“貯存”鍵,儀器即將當前測量數據貯存起來。每種測量模式最多可存貯50套測量數據,超過50套,儀器將自動重復從No.1存貯。貯存時,儀器顯示當前存貯號和存貯標志。存貯完畢,儀器自動返回測量狀態。
4.10 刪除功能
當儀器處于pH或mV測量工作狀態時,如果需要將某一存貯中的貯存的測量數據全部刪除,按“刪除”鍵,儀器顯示“貯存數據全部刪除?”,再按“確認”鍵,即刪除存貯器內全部實驗數據。刪除完畢,儀器自動返回當前測量工作狀態。若誤按“刪除”鍵,則可按“取消”鍵,儀器也自動返回當前測量工作狀態。
注:1、存貯的數據一旦被刪除,便不能恢復!
2、若用戶需刪除某個無用的數據時,可按4.12查閱功能下的幾個其他功能的操作方法進行刪除。
4.11 打印功能
打印開始前,請參照打印機說明書,將波特率設為9600。將打印機連接線插入RS-232接口內。
注:
1、TP-16打印機的設置為:波特率設置為9600,無奇偶位,即DIP開關設置為: 1-ON,2-OFF,3-OFF,4-OFF,5-ON,6-ON。
2、儀器必須在斷電情況下連接打印機。
● 即時打印
當儀器處于pH或mV測量工作狀態時,按“打印”鍵,儀器顯示“即時打印”和“存貯打印”,通過“▲”或“▼”鍵選擇“即時打印”。再按“確認”鍵,儀器顯示“打印...”,并打印儀器在當前測量工作狀態下測得的實驗數據,打印完畢,儀器自動返回當前測量工作狀態。若誤按“打印”鍵,則可按“取消”鍵,儀器也自動返回當前測量工作狀態。pH測量時,即時打印格式: RESULT:
T:26.1
pH:9.000
mV測量時,即時打印格式: RESULT:
T:26.1
mV:988.8
•存貯打印
當儀器處于pH或mV測量工作狀態時,按“打印”鍵,儀器顯示“即時打印”和“存貯打印”,通過“▲”或“▼”鍵選擇“存貯打印”。再按“確認”鍵,儀器顯示“打印...”,并打印儀器在當前測量工作狀態下存貯器內的所有實驗數據,打印完畢,儀器自動返回當前測量工作狀態。若誤按“打印”鍵,則可按“取消”鍵,儀器也自動返回當前測量工作狀態。
pH測量時,打印格式: No.1
T:41.0
pH:3.776
No.2
T:25.0
pH:6.875
mV測量時,打印格式: No.1
T:20.0
mV:200.0
No.2
T:10.5
mV:-1400.0
No.3
T:60.0
mV:366.8
注:
1. 在打印過程中,若用戶需要中途終止打印,則按“取消”鍵
即可.
2. 如果存貯器內沒有貯存數據,儀器將顯示“沒有貯存數 據!”.此顯示幾秒后,儀器自動返回當前測量工作狀態.
4.12 查閱功能
當儀器處于pH或mV測量工作狀態時,按“查閱”鍵,儀器即進入查閱功能,通過按“▲”和“▼”鍵,可查閱當前測量工作狀態下存貯器內的全部實驗據。若要退出查閱功能,按“取消”鍵,儀器自動返回當前測量工作狀態。
如果用戶在查閱pH存貯數據時,想查閱mV存貯數據,不必退出查閱狀態,直接按“mV”鍵即可。反之亦然。
如果用戶發現存貯的某個數據確實無用,則可使箭頭指向此數據,然后按“刪除”鍵,儀器提示確認后,用戶按“確認”鍵,即可刪除此數據。但是,數據一旦被刪除就不能再恢復,望用戶切記。如用戶誤按“刪除”鍵,則按“取消”鍵,儀器自動返回查閱功能。
五、儀器的維護與維修
5.1 維護
● 儀器的輸入端(測量電極的插座)必須保持干燥清潔。儀器不用時,將Q9短路插頭插入插座,防止灰塵及水汽浸入。在環境濕度較高的場所使用時,應把電極插頭用干凈紗布擦干。
● 電極避免長期浸在蒸餾水,蛋白質溶液和酸性氟化物溶液中; 避免與有機硅油接觸; 電極經長期使用后, 如發現斜率略有降低, 則可把電極下端浸泡在4%HF(氫氟酸)中3~5秒鐘, 用蒸餾水洗凈, 然后在0.1mol/L鹽酸溶液中浸泡, 使之復新。(注:氫氟酸有劇毒!操作應在通風櫥中進行)
5.2 維修
● 開機前, 須檢查電源是否接妥, 應保證儀器良好接地。電極的連接須可靠, 防止腐蝕性氣體侵襲。
● 接通電源后, 若顯示屏不亮, 應檢查電源器是否有電壓輸出。
● 若儀器顯示的pH值不正常, 應檢查復合電極插口是否接觸良好,電極內溶液是否充滿,若仍不能正常工作, 則可更換電極。
● 若上述各種情況排除后, 儀器仍不能正常工作, 則與我廠有關部門聯系。
5.3 電極的使用及維護
1. 電極在測量前必須用已知 pH值的標準緩沖
溶液進行定位校準,其值愈接近被測值愈好。
2. 取下電極套后,應避免電極的敏感玻璃泡與硬物接觸,因為任何破損或擦毛都使電極失效。
3. 測量后,及時將電極保護套套上,電極套內應放少量外參比補充液以保持電極球泡的濕潤。切忌浸泡在蒸餾水中。
4. 復合電極的外參比補充液為3mol/L氯化鉀溶液、補充液可以從電極上端小孔加入,復合電極不使用時,拉上橡皮套,防止補充液干涸。
5. 電極的引出端必須保持清潔干燥,絕對防止輸出兩端短路,否則將導致測量失準或失效。
6. 電極應與輸入阻抗較高的pH計(≥1012Ω)
配套,以使其保持良好的特性。
7. 電極應避免長期浸在蒸餾水、蛋白質溶液和酸性氟化物溶液中.
8. 電極避免與有機硅油接觸。
9. 電極經長期使用后,如發現斜率略有降低,則可把電極下端浸泡在4%HF(氫氟酸)中3~5秒鐘,用蒸餾水洗凈、然后在0.1 mol/L鹽酸溶液中浸泡, 使之復新。
10.被測溶液中如含有易污染敏感球泡或堵塞液接界的物質而使電極鈍化,會出現斜率降低,顯示讀數不準等現象。如發生該現象,則應根據污染物質的性質,用適當溶液清洗,使電極復新。
注1:選用清洗劑時、不能用四氯化碳、三氯乙烯、四氫呋喃等能溶解聚碳樹脂的清洗液,因為電極外殼是用聚碳酸樹脂制成的,其溶解后極易污染敏感玻璃球泡,從而使電極失效。也不能用復合電極去測上述溶液。注2: pH復合電極使用,最容易出現問題的地方居外參比電極的液接界處,液接界處的堵塞是產生誤差主要原因。
六、儀器的成套性
1 PHSJ―4A型實驗室pH計電子單元 1臺
2 E-201-C-9型pH復合電極 1支
3 T-818-B-6型溫度傳感器 1支
4 直流通用電源器(9V DC,500mA)
注:電源插頭:中心(+),外殼(-) 1只
5 附件一套,以隨機裝箱單為準
七、附錄
附錄1 pH緩沖溶液的配制
1 pH1.679標準緩沖溶液:稱取GR四草酸氫鉀12.61g溶于1000ml重蒸餾水中。
2 pH4.005標準緩沖溶液: 稱取GR鄰苯二甲酸氫鉀10.12g溶于1000ml的重蒸餾水中。
3 pH6.865標準緩沖溶液: 稱取GR磷酸二氫鉀3.387g、GR磷酸氫二鈉3.533g溶于1000ml的重蒸餾水中。
4 pH9.180標準緩沖溶液: 稱取GR四硼酸鈉3.80g溶于1000ml的重蒸餾水中。
5 pH12.454標準緩沖溶液:將過量氫氧化鈣(每升大于2g)粉末加入盛有重蒸餾水聚乙烯瓶中, 劇烈振蕩30min, 取清液使用。
注:一級標準溶液,用戶應向國家標準物質中心購買。
注意:配制3、4溶液所用重蒸餾水,應預先煮沸15~30min,除去溶解的二氧化碳。在冷卻過程避免與空氣接觸,以防止二氧化碳的污染。
附錄2 緩沖溶液的pH值與溫度關系對照表

請核對此表數據,若引自NBS數據,請引最新數據。
污染物質和清洗劑參考表
污染物 | 清洗劑 |
無機金屬氧化物 | 低于lmol/L稀鹽酸 |
有機油脂類物質 | 稀洗滌劑(弱堿性) |
樹脂高分子物質 | 酒精、丙酮、乙醚 |
蛋白質血球沉淀物 | 5%胃蛋白酶+0.1mol/LHCl溶液 |
顏料類物質 | 稀漂白液、過氧化氫 |

