敬告用戶:
請在使用本儀器前,詳細閱讀本說明書。
儀器超過一年必須送計量部門或有資格的單位復檢,合格后方可使用。
所有電極的保質期為一年,出廠一年后,不管是否使用過,其性能都會受到影響,應及時更換。
在進行滴定試驗時,特別是強堿、強酸、高氯酸等強腐蝕性溶液的分析時,應注意防護,最好帶好面罩及手套,以防溶液對人體的傷害。
目 錄
一、概述
二、儀器主要技術性能
三、儀器結構
四、儀器使用
1. 儀器安裝和連接
2. 開機
3. 滴定
4.查閱
5.儀器的系統參數設置
五、儀器的維護與維修
六、儀器的成套性
一、概述
ZDJ-5型自動滴定儀是一種分析精度高的實驗室分析儀器,它主要用于高等院校、科研機構、石油化工、制藥、藥檢、冶金等各行業的各種成分的化學分析。庫侖滴定是建立在電解分析基礎上,以電解過程種所消耗的電量為測量對象的一種分析方法。
儀器特點:
•儀器采用模塊化設計?捎煽刂茊卧、容量滴定單元、pH/mV測量單元組成電位滴定儀;也可由控制單元、容量滴定單元、永停測量單元組成永停滴定儀;由控制單元、容量滴定單元、電導測量單元組成電導滴定儀;也可將控制單元、庫侖滴定單元、pH/mV測量單元組成庫侖滴定儀?刂茊卧捎蒔C機代替進行控制。
•儀器采用觸摸顯示屏。
•良好操作界面,采用中文顯示、菜單、圖形、快捷鍵等操作方法。儀器具有斷電保護功能在儀器使用完畢關機后或非正常斷電情況下,儀器內部貯存的測量數據和設置的參數不會丟失。
•儀器可外接(TP―16型、TP―24型或TP―40型)串行打印機,打印測量數據、滴定曲線和計算結果。
•儀器可由計算機控制操作,并可進行多種統計結果的計算。
二、儀器主要技術性能
1 mV測量范圍: (-1999.9~0.0)mV,(0.0~1999.9)mV
2 電子單元基本誤差:不超過±0.03%(F.S)
3電解電流基本誤差,±0.25%(讀數)。(最大負載為500Ω)
4庫侖滴定分析的重復性:不大于0.5%(最小值為3s)。
5 儀器正常工作條件
環境溫度:(5.0~35.0)℃;
相對濕度:不大于80%;
供電電源:(220±22)V,頻率(50±1)Hz;
除地磁場外,周圍無電磁場干擾。
6 外形尺寸(mm):360×300×300 (長×寬×高)。
7 重量(kg):約10。
三、儀器結構
1 儀器正面圖

(1) 庫侖滴定單元 (2) 電極梗 (3) 緊定螺釘 (4) 電解杯支架
(5) 電極 (6)電解杯 (7) 攪拌珠 (8) 電位測量單元
(9) 控制單元
如圖:儀器由控制單元(9)、庫侖滴定單元(1)、電位測量單元(8)三部分組成。其中,可由PC機(需安裝本廠ZDJ-5型自動滴定儀控制軟件)代替控制單元進行滴定控制。
2 儀器后面板
a. 控制單元后面板

(18) 滴定接口 (19) 測量接口 (20) 打印接口
b. 庫侖單元后面板

(21)電解電極接線柱(22)滴定接口/RS232 (23) 保險絲座
(24)電源開關 (25)電源插座
c. 電位測量單元后面板

(27)測量電極插座(28)溫度電極插座(29)參比電極插座
(30)接地接線柱 (31)指示燈 (32) 測量接口/RS-232
其中控制單元“滴定接口”(18)接庫侖滴定單元“滴定接口/RS232”(22);控制單元“測量接口(19)”接電位測量單元“測量接口/RS232”(32)。
3 儀器配件
(33)控制單元―――> 庫侖滴定單元專用連接線
(34)控制單元―――>電位測量單元專用連接
(35)PC機―――>ZDJ-5型自動滴定儀專用連接線
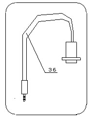
(36)TP-40型打印機專用連接線
(37)測量電極連接線,芯線接測量電極正極;屏蔽線接測量電極負正極。
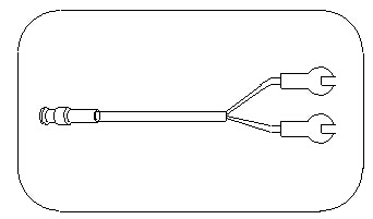
(38)電解電極連接線,紅線接電解電極接線柱正極;黑線接電解電極接線柱負極
(39)短路插
(41)國際通用電源線








4 電極
(1)電解電極正極(單鉑絲,玻璃管內充3mol/L硫酸溶液)用單芯紅線與儀器后面板電解電極接線柱的“+”端連接(紅色接線柱)。
(2)電解電極負極(雙鉑片)用單芯黑線與儀器后面板電解電極接線柱的“-”端連接。
(3)測量電極正極(單鉑片)用黑色屏蔽線的芯線連接,測量電極負極(黑色鎢絲,玻璃管內充飽和硫酸鉀溶液)用黑色屏蔽線的外面屏蔽線連接。另一端直接插入儀器的測量電極即可。

四、儀器使用
1 儀器的安裝和連接
儀器的安裝

a 將庫侖滴定單元(1)與(8)電位測量單元(8)和控制單元放在試驗臺上,插入電極梗(2);裝入電解杯支架(4)和電解杯(6),在電解杯(6)中放入攪拌珠(7),安裝好電極(5),并用緊定螺釘(3)固定電解杯支架(4)。
1.2 儀器的連接


a. 用控制單元―――> 庫侖滴定單元專用連接線(33)將控制單元“滴定接口”(18)和庫侖滴定單元“滴定接口/RS232”(21)連接起來。
b. 用TP-40型打印機專用連接線(36)將打印機接入控制單元的“打印接口”(20)。將國際通用電源線(41)插入庫侖滴定單元的電源插座內(25);擰下保險絲座(24)上的保險絲蓋,裝入備件中保險絲Φ5×20 (1A),然后擰緊保險絲蓋(儀器出廠前已裝好保險絲)。
c. 用控制單元―――>電位測量單元專用連接線(34)將控制單元“測量接口”(19)和電位測量單元“測量接口/RS232”(32)連接起來。
d. 若儀器和PC機配套,用PC機―――>ZDJ-5型自動滴定儀專用連接線(35),將孔式插頭和PC機的RS232接口連接,針式插頭分別與庫侖滴定單元“滴定接口/RS232”(21)、電位測量單元“測量接口/RS232”(32)連接起來。
1.3 電極的連接
電極由電解電極和測量電極組成。電解電極用單芯紅線和單芯黑線與儀器連接。檢測電極用黑色屏蔽線與儀器連接。
電解電極:
電解電極正極(單鉑絲,玻璃管內充3mol/L硫酸溶液)用單芯紅線與儀器后面板電解電極接線柱的“+”端連接(紅色接線柱)。
電解電極負極(雙鉑片)用單芯黑線與儀器后面板電解電極接線柱的“-”端連接。
檢測電極:
測量電極正極(單鉑片)用黑色屏蔽線的芯線連接,測量電極負極(黑色鎢絲,玻璃管內充飽和硫酸鉀溶液)用黑色屏蔽線的外面屏蔽線連接。另一端直接插入儀器的測量電極即可。
注意:電極連線不能出錯,用戶應認真仔細檢查,否則會影響儀器的正常使用。
2 開機
用戶將ZDJ-5型自動滴定儀的庫侖滴定模塊、電位(mV/pH)測量模塊、控制模塊連接在一起,便組成了自動庫侖滴定儀,以下簡稱庫侖電位滴定儀。將庫侖滴定模塊、測量模塊和控制模塊正確連接后,再接上電源,開機,庫侖電位滴定儀即可正常使用。
儀器開機后,首先開始自檢,之后即顯示“ZDJ-5 自動滴定儀”字樣,稍等,儀器開始檢測連接的滴定模塊和測量模塊類型,檢測結束,顯示如下。

如果用戶連接錯誤或者由于儀器連線或者儀器本身等原因導致連接失敗時,儀器會自動提醒用戶,顯示如下。圖示即為測量模塊連接失敗時的顯示示意圖。此時,用戶應斷開電源,仔細檢查連線是否正確,如果連接正確,則可能是儀器本身的問題,需要與我公司聯系以取得幫助。當然,用戶也可按“確認”鍵繼續操作下去,但儀器會自動限制用戶的某些操作,用戶自然無法使用全部的功能。

儀器檢測結束,自動進入到測量狀態,顯示如下,稱為儀器的起始狀態,將來儀器所有的功能都從這里開始。

其中顯示屏上面為菜單項,包括“查閱”(如果剛完成滴定并有滴定數據或者存貯有前一次的滴定數據)、“滴定”、“設置”等;中間為測量結果顯示,顯示當前的電位值和溫度值;右面為常用的按鍵,即“滴定”鍵;下面顯示庫侖滴定模塊狀態、攪拌器狀態圖標、系統時間。用戶按菜單項、常用鍵或者圖標等可以進入相應的功能模塊。
如果滴定模塊或者測量模塊連接失敗后,用戶按“確認”鍵繼續操作下去,則當前電位顯示區將顯示“88.888”字樣;而滴定模塊狀態將顯示“Off line”字樣。
庫侖電位滴定儀具有以下功能:滴定(包括預滴定、預設終點滴定、手動滴定等3種)、設置攪拌器速度、設置系統時間、選擇打印機等。在滴定過程中動態顯示滴定曲線,滴定結束,可以查閱滴定數據、并存貯當前滴定數據。下面將一一介紹這些功能。
3、滴定
儀器共提供3種滴定模式,即預滴定模式、預設終點滴定模式、手動滴定模式等。在儀器的起始狀態下,按“滴定”鍵,或者按菜單項上的“滴定”項,儀器會顯示全部滴定模式,顯示如下,用戶可以選擇所需的滴定模式進行相應的滴定。
3.1 預滴定模式
預滴定模式是儀器的主要滴定模式之一,許多滴定都可由預滴定模式完成,儀器可以通過預滴定模式自動找到滴定終點。當用戶對某些滴定不熟悉或者不清楚滴定實際的終點時,可以采用預滴定模式。在儀器的起始狀態下,按“滴定”鍵,儀器顯示全部的滴定模式,選擇“預滴定”,再按“確認”鍵,或者再選擇一次“預滴定”,儀器即進入到預滴定模式,儀器顯示如下。

開始預滴定模式之前,需要進行一些預滴定模式參數的設置,這些參數包括:電解電流參數、最小電解時間參數、平衡電位參數、平衡時間參數、終點突躍量參數以及預電解時間參數等。這部分參數控制著儀器的預滴定模式,修改這部分參數將直接影響預滴定的結果,絕大多數情況下,用戶不必設置這部分參數,即能滿足滴定要求。
3.1.1 電解電流參數
電解電流參數用以選擇本次滴定使用多少電流電解,具體有1mA、10mA和50mA三種電解電流可選擇,電解電流越大,電解越快,滴定時間越短。
3.1.2 平衡電位參數
預滴定模式的過程是這樣的:儀器首先會電解一定時間,電解結束,儀器采樣電解后的電位值,然后按照電解前后的電位變化量計算下一次的電解時間量,再次電解、采樣、計算,如此重復,直至滴定結束。一次電解結束后,儀器將采樣本次電解后的電位,并以此計算下一次的電解時間量,所以這個電位的采樣十分重要,儀器允許用戶自己設置電位的平衡范圍,也即電位的變化范圍。當滴定開始后,儀器就會自動判斷、采樣當前電位,如果當前電位的變化滿足用戶設定的平衡電位條件時,此電位即有效,否則儀器會一直等待,直至滿足條件為止。當然,儀器也允許用戶關閉平衡電位的判斷。
3.1.3 平衡時間參數
同平衡電位參數一樣,平衡時間參數也是用于控制一次電解時間結束后的電位采樣。當電位變化比較大,電位始終無法滿足平衡條件時,有必要使用時間參數來限制,否則儀器會始終等待電位的平衡,儀器允許用戶設置平衡時間,也就是說,如果電位始終無法平衡下來,那么到了設定的平衡時間,儀器會直接跳過平衡電位判斷,繼續滴定下去,因此當電位首先滿足平衡電位條件時,平衡時間條件會自然失效;而當用戶關閉平衡電位參數開關時,儀器會始終將平衡時間參數視為有效(用戶無法同時關閉平衡時間參數和平衡電位參數);反之亦然。
3.1.4 最小電解時間參數
儀器允許用戶設置最小的電解時間,一般為2秒。
3.1.5 終點突躍量參數
終點突躍量是儀器最終判斷終點的依據,分大、中、小三等。用戶一般只需選擇大、中、小即可,不必設置具體的突躍量大小。如果發現滴定的突躍量偏低或噪聲太大,無法正確找到滴定終點時,建議用戶重新設置終點突躍量參數(突躍低時將終點突躍設置為“小”,噪聲大時將終點突躍設置為“中”或“大”)。
為了適應多終點滴定的需要,儀器規定任何滴定,最多只能有五個終點,對應五個終點有五個獨立的控制量,可以獨立設置其大小。對于許多各種各樣的滴定,不可能有統一的模式或方法。為了控制和研究的方便,從一般用戶需要考慮,我們將終點突躍分成三檔,即大突躍、中突躍和小突躍。從滴定的情況來看,一般的滴定只需要將終點突躍設置為中突躍即可滿足滴定要求,用戶不必了解具體的終點突躍量的大小,也不必進行具體的設置。如果儀器原設置參數不能滿足用戶所需的滴定要求,則可以重新設置對應終點突躍量的大小,從而滿足用戶滴定的要求。所以,一般而言,用戶只需選擇終點突躍為大、中、小即可。
用戶對所需滴定有所了解后,有針對地選擇對應終點的終點突躍量。例如,將第一終點的終點突躍設置為“大”,第二終點的終點突躍設置為“小”,則具體操作如下:選擇“第一終點”,再選擇“大”即表示將第一終點的突躍量設置為大突躍,再按一下“第一終點”,儀器顯示“第二終點”,選擇“小”即表示將第二終點的突躍量設置為小突躍。
如果用戶希望了解每一終點對應的終點突躍量大小,那么,用戶在如上圖顯示時,依次按“第 終點”鍵,儀器將依次顯示對應終點相對應的終點突躍量。如果需要修改大小,直接選擇突躍量大小即可輸入新的突躍量。
3.1.6 預電解時間參數
如果用戶大概知道滴定終點的位置,比如300秒,則可以將預電解時間相應設置為280秒,即提前一段時間。預電解時間可以大大減少整個滴定的時間,在預電解這段時間里,儀器通常會以較快的速度滴定,過了預電解時間,儀器開始以較慢的速度滴定。
用戶如果需要修改其中的參數,可以選中某參數,儀器會自動彈出一個輸入窗口,用戶按需要輸入相應的數據即可。在此提醒用戶,這些參數直接控制著整個滴定,因此修改任何一個參數都可能影響最終的滴定結果,所以用戶修改前應對這些參數有所了解。儀器提供了一個可以恢復初始參數(出廠時的參數)的功能,當用戶發現設置的參數不正確,或者無法完成某些滴定時,仍可按“默認設置”鍵來恢復。
為了方便用戶使用儀器,在這里用戶同樣可以設置攪拌器的速度。
全部參數設置完畢,按“開始滴定”鍵,即可正式開始預滴定。
滴定開始后,儀器將顯示如下圖框。其中左下角為當前電位值和當前滴定的電解時間;右下腳為終點區,顯示滴定的終點數以及終點大小;最下面顯示當前的滴定名稱、滴定模塊的狀態以及實際的滴定時間;左上方顯示的即為滴定曲線,實線為電位對應滴定體積曲線,虛線為一次微分對應電解時間曲線。

滴定開始后,儀器會自動打開攪拌器,以用戶設定的攪拌速度攪拌10s,然后儀器才開始真正的滴定。儀器會按照預滴定模式控制整個滴定過程,用戶不必進行過多的干預,儀器會自動電解、自動判斷、自動采樣、自動評估終點,一面電解,一面動態顯示滴定曲線和滴定數據,如果儀器發現終點,儀器會鳴叫3次提示用戶。儀器找到一個終點后,并不會停止下來,而是繼續滴定下去,尋找下一個終點。如果用戶認為所有終點已找到,則可按“終止”鍵,終止滴定。儀器將詢問用戶是否真的終止滴定,顯示“終止滴定嗎?”等字樣,用戶可按實際需要終止或繼續滴定下去。如果儀器發現已電解至用戶所設定的最大電解時間,則儀器將自動提示用戶,是否繼續,用戶可按實際需要選擇終止滴定或繼續滴定。按“確認”鍵結束滴定,按“取消”鍵,繼續滴定;
滴定結束,儀器會自動關閉攪拌器,之后,如果當前滴定數據超過3個以上,儀器將進入查閱狀態,顯示整個滴定曲線以及終點結果等,顯示如下,否則直接返回至起始狀態。
其中上面為菜單項,包括“存貯”、“濃度”(如果有終點的話)、“終點”、“打印”、“關于”等和“關閉”鍵;中間為滴定曲線區,用戶可以查閱滴定數據;左下角為指示線對應的滴定數據,包括電位、電解時間、一次微分等;右下角為終點區,顯示終點數和對應終點值。
在這里,儀器允許用戶存貯當前滴定曲線;打印滴定結果、打印滴定數據、打印滴定曲線;查閱滴定參數和滴定時間;允許用戶設定終點、刪除終點;如果滴定有終點的話,儀器允許用戶計算樣品濃度值等。
在下一次滴定之前,本次滴定數據將被保存起來,用戶可以在儀器的起始狀態下按菜單項“查閱”鍵,選擇“查閱當前數據”并按“確認”鍵再次進入。
3.2 預設終點滴定模式
如果用戶已知滴定終點值,就可以用預設終點滴定模式進行滴定。用戶只要輸入終點數、終點值和預控點值,即可進行滴定。在儀器的起始狀態下,按“滴定”鍵,選擇“預設終點滴定”即可進入預設終點滴定模式.
用戶在進行預設終點滴定模式前,需要設置一些參數。預設終點滴定模式共有以下這些參數:電解電流參數、預控量開關以及大小參數、平衡電位參數、平衡時間參數、終點數量參數、各終點對應預控點參數、終點參數、終點延時參數等。
3.2.1 電解電流參數
電解電流參數用以選擇本次滴定使用多少電流電解,具體有1mA、10mA和50mA三種電解電流可選擇,電解電流越大,電解越快,滴定時間越短。
3.2.2 預控量開關以及大小參數
預控量參數是為了控制滴定時間而設置的,預控量參數將直接影響預設終點滴定的滴定速度和分析時間。對于這個預控量,一般而言,用戶不必直接設置,只需默認系統的設置即可,如果用戶發現所需的預設終點滴定分析時間過長,則可重新設置預控量的大小并打開預控量開關。將預控量設置得大一點則滴定速度快一點,反之亦然。預控量調節范圍為30~90%。
3.2.3 平衡電位參數
預設終點滴定模式的過程是這樣的:儀器首先會采樣當前的電位值并以次作為下一次電解的依據,電解一定時間后,儀器采樣電解后的電位值,再次電解、采樣,如此重復,直至滴定結束。一次電解結束后,儀器將采樣本次電解后的電位,并以此作為下一次的電解的依據,所以這個電位的采樣十分重要,儀器允許用戶自己設置電位的平衡范圍,也即電位的變化范圍。當滴定開始后,儀器就會自動判斷、采樣當前電位,如果當前電位的變化滿足用戶設定的平衡電位條件時,此電位即有效,否則儀器會一直等待,直至滿足條件為止。當然,儀器也允許用戶關閉平衡電位的判斷?蓞⒁婎A滴定模式平衡電位參數。
3.2.4 平衡時間參數
同平衡電位參數一樣,平衡時間參數也是用于控制一次電解時間結束后的電位采樣。當電位變化比較大,電位始終無法滿足平衡條件時,有必要使用時間參數來限制,否則儀器會始終等待電位的平衡,儀器允許用戶設置平衡時間,也就是說,如果電位始終無法平衡下來,那么到了設定的平衡時間,儀器會直接跳過平衡電位判斷,繼續滴定下去,因此當電位首先滿足平衡電位條件時,平衡時間條件會自然失效;而當用戶關閉平衡電位參數開關時,儀器會始終將平衡時間參數視為有效(用戶無法同時關閉平衡時間參數和平衡電位參數);反之亦然。
3.2.5 終點數量參數
終點數量參數指示本預設終點滴定共有幾個終點。最大可以有5個。
3.2.6 預控點參數
預控點參數是告訴儀器滴定終點即將來臨,儀器應當降低電解的速度。此值的設定直接關系到最終結果的正確性和實際的滴定時間。如果將預控點設置得離終點過近,那么到了預控點時可能會因滴定速度較快而導致最后的結果不準確;如果將預控點設置得離終點過遠,自然會增加總的滴定時間。另外預控點必須設置在終點的前面,否則預控點自然會失去作用。
3.2.7 終點參數
終點參數即為用戶已知的滴定終點,用戶只需直接輸入即可。
3.2.8 終點延時參數
終點延時參數是指滴定到了設置的終點以后開始的延時時間。一般地,在終點附近會有電位的來回波動,設置一定的延時時間可以得到比較正確的結果。儀器判斷到滴定已到用戶設定的終點時,會控制滴定模塊暫停下來,此時延時即開始,如果在延時沒有結束之前電位又回到了設定的終點時,儀器則會繼續滴定下去,直至滴定過終點并經過終點延時結束為止。
正確設置好上述參數后,按“開始滴定”鍵即可開始預設終點滴定。同樣的在設置上述參數時,同時可以設置攪拌器速度。
滴定開始以后,用戶不能再修改任何參數。同樣的,儀器首先會控制攪拌10秒,然后正式開始滴定,自動采樣、分析當前的電位并電解,滴定至當前終點值后,自動停止電解,并開始終點延時,此時如果電位有波動,儀器會控制滴定,再次電解,直至真的終點產生(結束)。儀器會鳴叫3次提示用戶。如果用戶設定了多終點滴定,儀器找到一個終點后,并不會停止下來,而是繼續滴定下去,尋找其他終點,直至找到所有終點,滴定自動結束。儀器關閉攪拌器,如果滴定數據超過三個,儀器會自動進入查閱狀態,顯示整個滴定曲線以及終點結果等,否則直接返回至起始狀態。
在滴定過程中,用戶隨時可以終止滴定。
3.3 手動滴定模式
手動滴定模式為用戶自己手動設置電解時間、手動控制整個滴定的滴定模式。該滴定模式可幫助用戶尋找滴定終點。在儀器的起始狀態下,按“滴定”鍵,選擇“手動滴定”即可進入手動滴定模式.
同樣的,手動滴定模式有以下這些參數:電解電流參數、預電解時間參數、下次電解時間參數、終點突躍量參數、最大電解時間參數等。
3.3.1 電解電流參數
同預滴定模式電解電流參數
3.3.2 預電解時間參數
預電解時間參數即為手動滴定開始后首次電解的時間量。
3.3.3 下次電解時間參數
下次電解時間參數為本次電解之后,下一次的電解時間量,這個電解時間量在任何一次電解后可重新設置。
3.3.4 終點突躍量參數
同預滴定模式終點突躍量參數。
3.3.5 最大電解時間參數
在滴定時,找到一個滴定終點后儀器自動進行下一個終點尋找而不會停止滴定,必須按“終止”鍵或根據最大電解時間設置值停止滴定。最大電解時間省缺值為3600秒,用戶可根據實際需要重新設置。當電解量達到用戶設定的最大電解時間時,儀器將自動終止滴定(當然,儀器會再次提醒用戶是否真的終止滴定)。
上述參數設置完畢,按“開始滴定”鍵即可開始手動滴定。儀器首先進行預電解時間量的電解,然后,會一直等待用戶進一步的操作,顯示如下。用戶可以按“電解”鍵電解一定的電解時間,或者按“設置電解時間”鍵重新設定新的電解時間量,按“終止”鍵終止滴定。
4、查閱
儀器提供了二種查閱方式:第一,允許用戶在滴定結束后,再次查閱本次的滴定數據;第二,可以查閱用戶存貯起來的滴定數據。
注意:
1、如果在本次滴定過程中,用戶很快終止滴定導致實際記錄的滴定數據量過少(小于3個)時,用戶無法查閱當前的滴定數據;如果用戶沒有存貯滴定數據,也無法查閱存貯的數據。
2、每次滴定之后,前一次的滴定數據將自動丟失,用戶無法查閱前一次的滴定數據。
在儀器的起始狀態,按菜單項“查閱”鍵,選擇所需的查閱方式,按“確認”鍵即可查閱相應的滴定數據。顯示如下:
選擇查閱方式時的顯示示意圖
4.1 查閱當前數據
滴定結束后,儀器會保存當前的滴定數據,用戶可以再次查閱本次的滴定結果。
其中上面為菜單項,包括“存貯”、“濃度” (如果有終點的話)、“終點”、“打印”、“關于”等和“關閉”鍵;中間為滴定曲線區,用戶可以查閱滴定數據;左下角為指示線對應的滴定數據,包括電位、電解時間、一次微分等;右下角為終點區,顯示終點數和對應終點值。
在這里,儀器允許用戶存貯滴定曲線;打印滴定結果、打印滴定數據、打印滴定曲線;查閱滴定參數和滴定時間;允許用戶設定終點、刪除終點;如果滴定有終點的話,儀器允許用戶計算樣品濃度值等。
4.1.1 存貯滴定數據
滴定結束以后,用戶可以將滴定曲線存貯起來,作為分析、觀察之用。在儀器的查閱狀態下,按菜單項“存貯”鍵,并選擇“存貯滴定數據”后按“確認”鍵,儀器提示“存貯滴定數據嗎?”,顯示如下,按“確認”鍵即可將當前滴定數據存貯起來,按“取消”鍵將放棄操作,返回查閱狀態。。請注意:儀器只能存貯一次滴定曲線,存貯后,將自動刪除上次存貯的滴定曲線。
4.1.2 樣品濃度
樣品的濃度值是按照以下公式計算的:

其中:C表示樣品濃度值;
I表示電解電流(mA);
TEP表示對應終點的電解時間(秒);
V0表示樣品體積(mL);
K表示轉換系數。
在查閱狀態下,按菜單項“濃度”鍵,選擇“樣品濃度”并按“確認”鍵即可進行樣品濃度的計算。
如果用戶沒有輸入樣品體積,即樣品體積為“BLANK”(空白),則樣品濃度“Conc”欄目中將顯示“BLANK”(空白),否則儀器會自動按照當前終點電解時間量以及電解電流值計算樣品濃度值,顯示如上圖。在這里,用戶可以重新設置樣品體積、轉換系數(系數)的大小。選擇樣品體積或者轉換系數(系數)即可輸入新的樣品體積或者轉換系數值(系數)。按樣品濃度窗口的關閉鍵即可退出樣品濃度計算,返回查閱狀態。
4.1.3 終點
4.1.3.1 設定終點
儀器允許用戶根據自己的判斷將某個滴定數據設定為終點。
4.1.3.1 刪除終點
儀器允許用戶根據自己的判斷將某個終點刪除掉。
4.1.4 打印
滴定結束后,如果用戶需要打印滴定結果、滴定數據、滴定曲線,則可按菜單項“打印”鍵,顯示如下,選擇需要打印的內容,打開打印機電源,儀器即可打印相應內容。
注意:在打印以前,用戶需正確設置好打印機的型號,通訊波特率等參數,正確連接打印機連線(詳見“設置打印機”章節)。
4.1.4.1 打印滴定結果
儀器會將本次滴定的名稱、滴定時間、滴定參數、滴定結果等一一打印出來。
4.1.4.2 打印滴定數據
儀器將打印所有的滴定數據。
4.1.4.3 打印滴定曲線
儀器將按照滴定曲線圖,打印滴定曲線。
4.1.5 關于
滴定結束后,儀器自動保存當前滴定所使用的一些參數,包括本次滴定名稱、總滴定時間、使用的電解電流等參數。用戶可以按菜單項“關于”鍵并按“確認”鍵即可查閱滴定參數。
4.2 查閱存貯數據
在儀器的起始狀態下,按菜單項“查閱”鍵并選擇“查閱存貯數據”,按“確認”鍵即可查閱存貯的滴定數據,顯示如下。在查閱存貯數據時,儀器只允許用戶打印存貯的滴定數據和查閱滴定時的參數等。
同查閱當前滴定數據時“打印”功能一樣,儀器允許用戶選擇“打印滴定結果”、“打印滴定數據”或打印滴定曲線”,按菜單項“打印”鍵并選擇所需操作即可打印出來。
同查閱當前滴定數據時“關于”功能一樣,用戶可以查閱本滴定的滴定名稱、滴定時間以及電解電流等參數。
5、儀器的參數設置
儀器的參數設置包括設置攪拌器速度、系統時間、打印機類型等。
注意:打印機類型、系統日期和時間等參數用戶必須設置正確。
為了確保用戶正確、更好地使用儀器,用戶第一次使用時,必須檢查一遍儀器所設置的參數是否符合自己的使用條件,若不符合,就必須重新設置所需的參數,以確保儀器正確的工作。平常使用時,用戶如果發現某些使用條件或日期、時間有誤時,需重新設置相應的參數。
在儀器的起始狀態下,按菜單項“設置”鍵,顯示如下,選擇相應設置項即可設置對應的儀器參數。設置完成后,儀器返回起始狀態。
5.1 設置攪拌速度
在儀器的起始狀態下,按菜單項“設置”鍵,選擇“攪拌速度”,按“確認”鍵即可設置攪拌器的攪拌速度。
其中,設置窗口上“啟動”(或“停止”)按鍵用來啟動(或者關閉)攪拌器,滑動條以及顯示的攪拌速度對應當前攪拌器的實際速度值,用戶直接按滑動條或者按“<”、“>”鍵即可設置攪拌器的速度,設置完畢,按右上角的“關閉”鍵,返回儀器起始狀態。
5.2 設置系統時間
在儀器的起始狀態下,按菜單項“設置”鍵,選擇“系統時間”,按“確認”鍵即可設置儀器的日期、時間參數。
其中,設置系統時間窗口左上角為當前儀器的日期和時間,左下角六個按鍵分別對應年、月、日、時、分、秒。假定用戶需要修改當前的月份,則可按下面方法操作:按一下“月”鍵,儀器會反顯月份,并停止計時,旁邊顯示“...”鍵(直接鍵入)、“確認”按鍵
用戶按“月”鍵可依次增加月份,或者按“...”鍵(直接鍵入)直接輸入月份,輸入完畢按“確認”鍵即可。同樣道理,其他時間也可類似設置。
5.3 設置打印機
儀器采用RS-232作為輸出口。因此,用戶打印滴定結果、滴定數據、滴定曲線時,必須選購串行打印機。儀器允許用戶選擇TP-16S型、TP-24S型或TP-40S型(即分別為每行打印16字符、24字符、40字符)的串行打印機。由于打印機行寬的不同,不同的打印機其打印格式會有明顯的不同。儀器推薦用戶選購使用TP-40S型串行打印機。
在儀器的起始狀態下,按菜單項“設置”鍵,選擇“打印機”,按“確認”鍵即可選擇打印機類型。
用戶按實際連接的打印機選擇即可,選擇完畢按“確認”鍵返回儀器的起始狀態。
五、 儀器的維護與維修
1 維護
•儀器的插座必須保持清潔、干燥,切忌與酸、堿、鹽溶液接觸,防止受潮,以確保儀器絕緣性能。在環境濕度較高的場所使用時,應把電極插頭用干凈紗布擦干。
•電極兩個玻璃管內的內充液應及時補充,保證內溶液高度高出溶液杯的被測溶液液面1cm以上。
•一般兩個玻璃管內的內充液一個星期應進行更換,并用蒸餾水進行清洗。
•電極使用完畢后,應放置在干凈的無溶液的溶液杯中,以防損壞。
•開機前, 須檢查電源是否接妥, 應保證儀器良好接地。
2 常見故障排除
見表1

六、 儀器的成套性
1 ZDJ-5型自動滴定儀控制單元 1臺
2 ZDJ-5型自動滴定儀庫侖滴定和測量單元 1臺
3 電極 1套
4 附件一套,以隨機裝箱單為準

